Curiosii for ever!: Car repair manuals for everyone.

Oil Level Sensor: Service and Repair


WM 170919 Removing and installing oil-level sender

Technical values





Preliminary work

DANGER

Vehicle can fall down

- Risk of squashing or crushing
- Risk of damage to the vehicle

-> Do not place any solid objects under the raised vehicle.
-> Ensure that the lifting platform is prevented from lowering.
-> Remove solid objects before lowering the vehicle.
-> Raise the vehicle only at the take-up points provided.
-> The outer take-up points should be used primarily.

1. Raise the vehicle.
-> 4X00IN01 Lifting the vehicle Service and Repair.

WARNING

Hot fluid

- Danger of scalding

-> Let the fluid cool down.
-> Wear personal protective gear.

2. Drain engine oil.
-> 170155 Changing engine oil and oil filter - section on "Draining" Removal and Replacement.

Component information





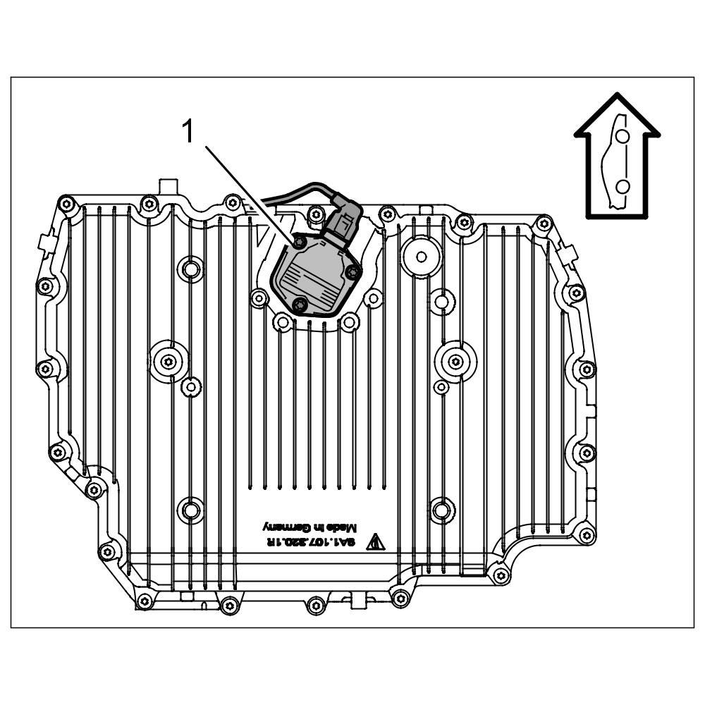
Overview of oil-level sender





Removing oil-level sender

Information

When removing the sender, remember that residual engine oil can still emerge.

1. Remove oil-level sender.
1.1. Unclip and pull out cable plug -2- on oil-level sender.





Oil-level sender

1.2. Unscrew three internal Torx screws (M6 x 25) -1- and remove oil-level sender.
2. Replace sealing ring -2-.





Sealing ring for oil-level sender

Installing oil-level sender

1. Install oil-level sender with new sealing ring.
1.1. Grease sealing ring lightly with Kluber Syntheso Glep (Porsche part number 000.043.204.68).
1.2. Fit and tighten three internal Torx screws (M6 x 25) -1-.





Oil-level sender

=> Tightening torque: 10 Nm (7.5 ftlb.)
1.3. Insert and latch in cable plug -2-.

Subsequent work

CAUTION

Incorrect oil level

- Damage to engine and catalytic converter.

-> Always observe specification for oil fill quantities.

1. Fill in engine oil and check oil level.
-> 170155 Changing engine oil and oil filter Removal and Replacement.
-> 170101 Checking engine-oil level Procedures.
2. Start the engine and inspect oil-level sender for leaks.