Absolute Pressure Sensor: Testing and Inspection
Ambient Pressure Sensor
Ambient Pressure Electrical Check
General Description
The purpose of this diagnosis is to detect electrical faults. The input signal is analog from a pressure sensor into the control unit and has to be in a calibrate able range. Short circuit to ground, short circuit to voltage battery and an open circuit can be detected.
Error Symptoms
- Short circuit to voltage battery
- Short circuit to ground or open load
Flowchart: Ambient Pressure Electrical Check
Ambient Pressure Gradient Check
General Description
In the ambient pressure gradient check the difference calculated out of the measured ambient pressure and the moving mean value of the ambient pressure is compared to a calibrate able threshold. If the delta exceeds the threshold the error is set.
Error Symptom
Signal not plausible
Flowchart: Ambient Pressure Gradient Check
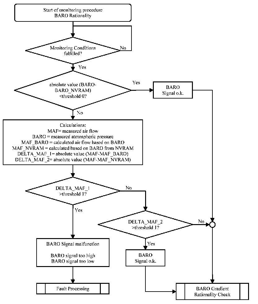
Ambient Pressure Rationality Check
General Description
At engine start the difference between the measured atmospheric pressure and the atmospheric pressure, read out from NVRAM, is compared to a calibrate able threshold. If this difference exceeds the threshold, first a difference between the measured air flow and the calculated air flow based on the measured atmospheric pressure and second a difference between the measured air flow and the calculated air flow based on the atmospheric pressure from NVRAM are calculated. Then it is evaluated with the before calculated differences whether there is an atmospheric pressure signal malfunction. In any case if no atmospheric pressure signal malfunction is detected the BARO Gradient Rationality Check is still executed.
Error Symptom
Signal not plausible
Flowchart: Ambient Pressure Rationality Check at Start