Curiosii for ever!: Car repair manuals for everyone.

Rear Subframe: Service and Repair

WM 420519 Removing and installing rear axle housing

Preliminary work

1. For vehicles with level adjustment: Switch off level adjustment.
2. To bleed the level adjustment system (compressed air must be released from the system), use the Porsche System Tester. To do this, select the Bleed level adjustment menu item in the Level adjustment system.





3. Raise the vehicle at the jacking points provided.
4. Remove the rear wheels.
5. Remove the tailpipe.

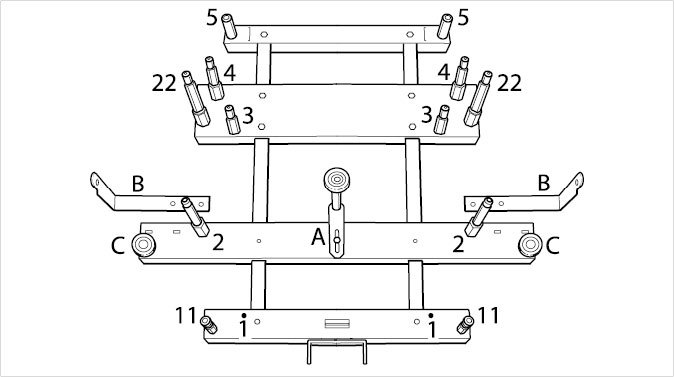
Tools and materials

Tools





-A- - Mounting frame

-11- - Take-up point for rear axle housing

-22- - Take-up point for rear axle housing

Removing rear axle carrier





These removal and installation instructions apply to vehicles with level adjustment and steel springs. The points relating to level adjustment are not relevant for vehicles with steel springs.

Caution:
Increased risk of accident when working on the exhaust system, the rear axle and the vibration dampers.
- Possible danger of injury or damage.


- Wear protective gear, e.g. gloves.

- Position the mounting frame correctly on the lifting platform and carefully remove the rear axle housing.

- Watch out for falling parts during removal on the mounting frame.

1. Remove the combination wires at the joint (brake wear, CDC sensor) -1- and then unclip the rubber sleeves -2- from the sheetmetal holders.





2. Undo the brake caliper and hang it in a suitable place in the wheel housing.

Information:
- Always wear safety goggles and gloves when working on vehicles with level adjustment.
- Mark the installation position (e.g. with a felt-tip pen) when removing the cardan shaft.
- Mark the installation position (e.g. with a felt-tip pen) when removing the rear axle housing.
- The take-up points 11 and 22 are required for removing the rear axle. Remove the remaining take-up points.

3. In vehicles with level adjustment, disconnect the air connection to the spring struts (front axle connection shown here).





4. Remove the bleeder line from the rear axle transmission.
5. Unclip both brake cables from the Quickfit attachment and remove them from the cable guides. Hang the cables in a suitable place to prevent damage.
6. Mark the installation position of the cardan shaft .





7. Make sure that the cardan shaft does not become kinked (tie it up, ).





8. Disconnect the plug connections for the level adjustment and headlight levelling systems (). On vehicles with differential lock, disconnect the plug connection on the rear axle transmission.





9. For installation, it is a good idea to mark the installation position of the rear axle housing diagonally in at least two places on the body. To do this, place the marks vertically with respect to the floor of the body using a felt-tip pen (e.g. mark along the rear axle housing mount with the pen).





10. Position the mounting frame correctly on the lifting platform.





11. Position the lifting platform with the mounting frame under the rear axle housing.





12. Push into the take-up points -arrows- provided. The -arrows- show the take-up points for the mounting frame in the rear axle housing (view from below here).





13. Remove the attachments on the damper housing.





14. Loosen the rear axle housing (-arrows-). Lower the rear axle while taking care not to damage adjacent components.





Subsequent work can be carried out on the mounting frame.

15. Remove the stabilizer on the vibration dampers and on the rear axle housing.
16. Detach the half-shafts at the rear axle transmission.

Information:
- Get a second worker to help to remove the wheel carrier with accessories and the rear axle transmission.

17. Remove the damper housing.
18. Loosen the triangular control arms, control arms and tie rods on the rear axle housing. Remove the wheel carriers with triangular control arms, control arms, tie rods and half-shafts.
19. Remove the rear axle transmission by unscrewing the screws on the rear axle housing and lifting out the transmission.

Installing rear axle carrier

Caution:
Increased risk of accident when working on the exhaust system, the rear axle and the vibration dampers. When filling the air spring struts, the vehicle lifts. Damage due to raising the wheel carrier incorrectly.
- Possible danger of injury or damage (crushing, cuts).


- Wear protective gear, e.g. gloves and safety goggles.

- Do not raise the wheel suspension higher than the normal vehicle position (vehicle resting on wheels). When raising the suspension, use a suitable intermediate layer (hard rubber).

- Do not damage the brake cover plate.

- The steering angle sensor must be calibrated following removal.

- Watch out for falling parts during installation on the mounting frame.

Information:
- Before installing, give the parts a visual check.
- Position the rear axle housing with respect to the body at the markings made previously.
- Position the cardan shaft at the markings made previously.
- Replace all fastening nuts and all expansion screws (screws which are fitted with torque angle tightening procedure).





- The entire threaded parts of the axle must be tightened in vehicle position. Vehicle position means: vehicle standing on the wheels, or the wheel suspension is being raised using a universal vehicle lift. Dimension -X-, from lower edge of wing to middle of axle 506 mm ± 10 mm corresponds to vehicle position.
- Do not raise the wheel suspension higher than the normal vehicle position (vehicle resting on wheels). When raising the suspension, use a suitable intermediate layer (hard rubber).
- Observe correct tightening torques.
- The vehicle suspension must be aligned following repair work.
- Calibrate the steering angle sensor with the Porsche System Tester.





- Calibrate level adjustment with the Porsche System Tester.
- Perform a function test.

Install in reverse order.

1. Position the rear axle housing on the mounting frame.
2. Pre-fit the accessories on the rear axle housing. Get another worker to help. A final tightening of the screw connections must be performed when the vehicle is in normal vehicle position.
3. Position the rear axle housing and damper housing back in the original, marked installation position and tighten; be careful not to damage adjacent parts -arrows-.





4. Fit the half-shafts, stabilizer, plug connections and the bleeding line on the rear axle transmission.
5. Fit the cardan shaft, brake cables, brake calipers and combination connectors. Follow correct cable routing.
6. On vehicles with level adjustment, attach the air connection to the spring struts.

Subsequent work

1. Fit rear muffler.
2. Fit wheels.
3. To fill the level adjustment system, use the Porsche System Tester. To do this, select the Fill air suspension menu item in the Level adjustment system. Switch on level adjustment.
4. Perform suspension alignment.