Curiosii for ever!: Car repair manuals for everyone.

Front Suspension


Removing and installing front-axle carrier











Preliminary work
In vehicles with level adjustment: Switch off level adjustment.

Raise the vehicle at the support points provided for this purpose.





-A- - Safety device 10-222 A
-B- - Spring hook or chain - for extending the threaded rods
-C- - Transport eyebolt 9700





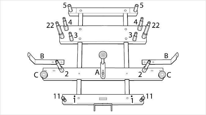
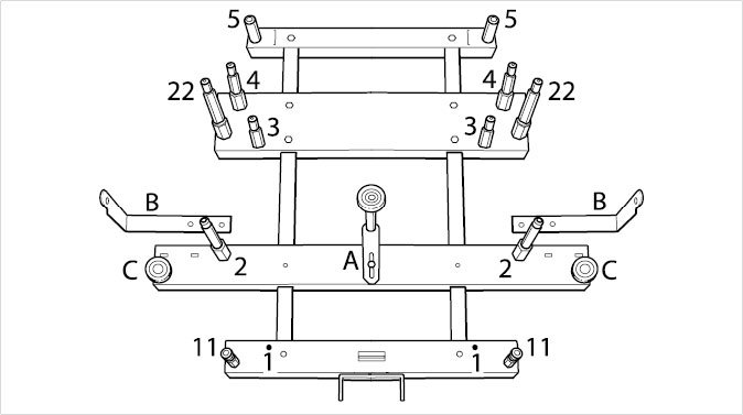
-A- - Mounting frame
-1- - Mount - for mounting the front-axle carrier
-3- - Mount - for mounting the front-axle carrier
-4- - Positioning guide - for positioning the mounting frame

Removing front-axle carrier

Removing front-axle carrier - V8





Caution
Heavy components
^ Risk of squashing


-> Wear personal protective gear.
-> Get someone to help if necessary.

Caution
Heavy components
^ Risk of squashing


-> Wear personal protective gear.
-> Get someone to help if necessary.

Information
^ These removal and installation instructions apply to vehicles with level adjustment and steel springs. The points relating to level adjustment are not relevant for vehicles with steel springs.

1. Open the engine compartment lid and secure with the hood stay 97040.
2. Remove engine design covers.
3. Remove the -torque support- from the engine. Then re-insert the fastening screw -arrow-.





Information
^ In Point 4, the transport eyebolt 9700 cannot be screwed in on 2nd generation V8 vehicles. There are perforated plates on the engine for transporting and raising it to the safety device.

4. Position the safety device 10-222 A correctly and fit the chain to the mounting -A-. Fit the transport eyebolt 9700 for securing the engine -B- (the bore for the transport eyebolt is located between cylinder 6 and 7 on the left cylinder bank).





5. Remove the front wheels.
6. Remove engine guard.

Information
^ The spring struts are not removed in order to remove the front axle carrier.
^ Fix upper axle strut. The lower control arms are loosened on the front axle carrier and remain with the spring struts in the vehicle.

7. Fix upper axle struts with spring compressor VW 552. This involves tensioning the axle strut slightly because otherwise the top ball joint can be damaged. When doing this, engage the -connecting piece- into the top opening of the wheel well (double panel, under the wheel housing cover) and into the axle strut (do not disconnect the air spring connection!).





8. For easier removal of the outer tie rod end, swivel the relevant wheel carrier so that the tie rod extends fully. Remove the -outer tie-rod joints- using press-out tool T10187. When pressing out, screw fastening nut on flush (protects the ball joint thread).





9. The screw in the steering shaft is removed from the wheel well. Release the coolant hoses from the holders on the body. Release the -steering column screw (arrow)- from the steering gear.





10. Remove the hydraulic lines from the steering gear (collect hydraulic fluid in a suitable container). Remove the heat shield of the steering, if necessary.
11. Mark the installation position of the cardan shaft and remove it from the front-axle final drive. Make sure that the cardan shaft does not become kinked (tie it up).
12. Remove drive shafts from the front-axle final drive. Make sure that the drive shafts do not become kinked (tie them up).
13. Remove lower control arms from the front axle carrier.
14. Remove stabilizer mount.

Information
^ The mounting points for the front axle carrier (1 and 3), both right and left, and the two positioning guides (4) that are pushed into the body are required for removing the front axle carrier. The other mounting points can be removed.
^ The mounting points 1/11 (designation on the guide pin) are fitted into -Position 1-. Double codes (e.g. 11, 22) are also used for mounting the rear axle.





Mounting frame

^ A second worker is required in order to avoid damaging adjacent components when lowering the front axle carrier.





^ For installation, it is a good idea to mark the installation position of the front axle carrier diagonally at least two places on the body. To do this, place the marks vertically with respect to the floor of the body using a felt-tip pen (e.g. mark along the front-axle carrier mount with the pen).

15. Position the -workshop trolley- with the correctly positioned mounting frame under the front axle carrier.





16. Mark the installation position of the front axle carrier diagonally at least two places on the body.





17. The -arrow- show the mounting points for the mounting frame in the front axle carrier (view from below here).





18. Position the front axle carrier into the mounting points provided -(arrows)- (points 4 in the body).





19. Remove the 4 fastening screws -(arrows)- of the front axle carrier.





20. Lower the front axle carrier with steering, final drive and stabilizer. Be careful not to damage adjacent parts (e.g. cardan shaft, oil pan, body).
21. Remove accessories from the front axle carrier (steering, final drive, stabilizer). Get another worker to help.

Installing front-axle carrier

Installing front-axle carrier - V8

Caution
Heavy components
^ Risk of squashing


-> Wear personal protective gear.
-> Get someone to help if necessary.

Caution
Heavy components
^ Risk of squashing


-> Wear personal protective gear.
-> Get someone to help if necessary.

Information
^ Before installing, give the parts a visual check.
^ Note previously applied markings on the front axle carrier and on the cardan shaft.
^ A second worker is required in order to avoid damaging adjacent components when fitting the front axle carrier.
^ When fitting the ball joints, ensure that the bevel pinions are clean! Remove dirt or grease on bevel pinions, e.g. with a lint-free cloth. Do not use cleaning agent/solvent.
^ Replace all fastening nuts and all expansion screws (screws which are fitted with torque angle tightening procedure).





^ The entire threaded parts of the axle must be tightened in vehicle position. Vehicle position means: vehicle standing on the wheels, or the wheel suspension is raised using a universal vehicle lift. -Dimension X-, corresponds to vehicle position. -> Check dimension: 502 mm+/-10 mm





^ Do not raise the wheel suspension higher than the normal vehicle position (vehicle resting on wheels). When raising the suspension, use a suitable -intermediate layer (hard rubber)-. Do not damage the brake cover plate.
^ Bleed power-assisted steering.
^ Observe correct tightening torques.
^ Align vehicle.





^ Use the -Porsche System Tester- to calibrate the steering-angle sensor.
^ Perform a function test.

Installation is carried out in reverse order.

These removal and installation instructions apply to vehicles with level adjustment and steel springs. The points relating to level adjustment are not relevant for vehicles with steel springs.
1. Position the -front-axle carrier- on the mounting frame.





2. Pre-fit the accessories on the front axle carrier (steering, final drive, anti-roll bar). Get another worker to help.
3. Position the front axle carrier back in the original, marked installation position and be careful not to damage adjacent parts.
4. Tighten the four fastening screws to the prescribed tightening torque.
5. Remove the -workshop trolley- with the mounting frame and secure the water hose holders.





Front axle carrier

6. Fit the steering gear to the steering column and connect the hydraulic lines.
7. Fit the cardan shaft at the points marked.
8. Install the drive shafts.
9. Fit the tie rod ends. The tightening torque for the fastening nut for attaching the tie rod end is 70 Nm (52 ftlb.).
10. Fit the engine guard and the front wheels.
11. Remove the safety device 10-222 A. To do this, remove the transport eyebolt 9700 -B- and the chain -A-, which is used to secure the engine.





12. Fit the -torque support-.





13. Bleed power-assisted steering.
14. Fit engine design covers and radiator tank cover.

Subsequent work
Switch on level adjustment.

Align the vehicle and calibrate it.