Curiosii for ever!: Car repair manuals for everyone.

Tiptronic Transmission



Removing And Installing Central Electrical System Power Distributor

Technical values







Removing central electrical system power distributor

General information







CAUTION:
When removing the central electrical system power distributor, electric and electronic components may suffer damage or be destroyed by voltage peaks.
- The battery must therefore be disconnected before removing the central electrical system power distributor.


Removing central electrical system power distributor







1. Move front left seat back and up as far as possible. Move backrest fully forward.
2. Unclip front seat trim -Arrow A- towards the front.
3. Fold the carpet sections forward and remove the two fastening screws -1-.
4. Fold the seat back as far as possible -Arrow B-. With the seat in its folded position, move the seat forward again using the fore-and-aft adjustment -Arrow C-.







5. Fold up carpeting -arrow- and unscrew fastening nut -2- from battery ground strap on the body.
6. Route or isolate ground strap so that all contact with a ground carrier (e.g. body, seat frame) is avoided.

INFORMATION: Only for vehicles with auxiliary battery







7. Release the cover -Arrow A- and open it -Arrow B-.
8. Unscrew fastening nut -3- and remove line for auxiliary battery -Arrow C-.







9. Lever off lid from power distributor with a screwdriver -a- and remove -arrow-.







10. Undo both fastening nuts -4- and remove fuse element -Arrow A-.
11. Undo fastening nuts -5- and remove fuse element -Arrow B-.
12. Undo fastening nuts -6- then remove line and contact bridges -Arrows C-.
13. Undo fastening nuts -7- and remove charging relay -Arrow D-.







14. Release connector -Arrow A- and remove from charging relay -Arrow B-.







15. Release charging relay bracket -Arrows A- and remove it -Arrow B-.







16. Release relay carrier with a small screwdriver -Arrows A- and remove -Arrow B-.







17. Release relay carrier with a small screwdriver -Arrows A- and remove -Arrow B-.
18. Cut tie-wraps -C- and remove lines -Arrows D-.







19. Remove plug connection (Tyco switch) from bracket -Arrow A-.
20. Cut tie-wrap -B-.
21. Release plug connection -Arrow C- and disconnect -Arrows D-.







22. Undo fastening nut -8- and remove line -Arrow A-.
23. Undo fastening nut -9- and remove line -Arrow B-.
24. Unscrew fastening nuts -10- and remove Tyco switch -Arrow C-.







25. Undo fastening nut -11- and remove line -Arrow A-.
26. Release fuse carrier -Arrow B- and remove it from brackets -Arrows C-.







27. Undo fastening nut -12- and remove line -Arrow A-.
28. Undo fastening nuts -13- and remove lines -Arrow B-.
29. Remove floor carpeting from the work area.
30. Cut open tie-wraps -C- and remove the wire harness -Arrows D-.

Installing central electrical system power distributor

INFORMATION: Always use new self-locking nuts to fasten the lines and retainers.







1. Place wire harness in the installation position -Arrows A-.
2. Place lines on the threaded bolts -Arrows B- and tighten using new fastening nuts -13- - Tightening torque: 4.5 ftlb.
3. Place line on threaded bolt -Arrow C- and tighten using a new fastening nut. -12- - Tightening torque: 3.5 ftlb.







4. Insert fuse carriers -Arrows A- until locking tabs -B- are felt to engage.
5. Fasten line with new tie-wraps -C-.
6. Place line on threaded bolt -Arrow D- and tighten using a new fastening nut. -11- - Tightening torque: 11 ftlb.







7. Place Tyco switch on threaded bolt -Arrow A- and tighten using new fastening nuts. -10- - Tightening torque: 11 ftlb.
8. Place line on threaded bolt -Arrow B- and tighten with fastening nut -9- - Tightening torque: 3.5 ftlb.
9. Place line on threaded bolt -Arrow C- and tighten with the fastening nut. -8- - Tightening torque: 12 ftlb.







10. Connect plug connection -Arrows A- until locking tab -B- is felt to engage.
11. Tie the lines together with a new tie-wrap -C- and place plug connection in installation position -Arrow D-.







12. Press relay carrier in -Arrow A- until locking tabs -B- are felt to engage.







13. Insert fuse carrier -Arrow A- until locking tabs -B- are felt to engage.
14. Place lines in installation position -Arrows C- and fasten using new tie-wraps -D-.







15. Place relay carrier in installation position and press in -Arrow A- until locking tabs -B- are felt to engage.







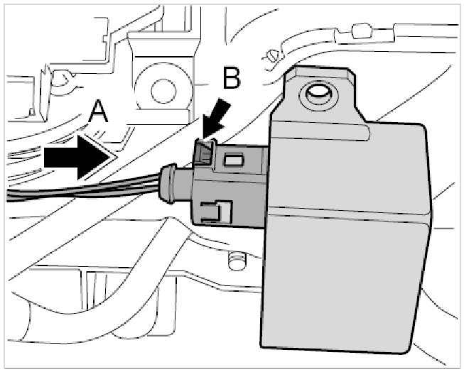
16. Push connector onto air flow sensor -Arrow A- until locking tab -B- is felt to engage.







17. Place charge relay on threaded bolts -Arrow A- and tighten using new fastening nuts. -7- - Tightening torque: 3.5 ftlb.
18. Place contact bridges on threaded bolts -Arrows B- and tighten using new fastening nuts -6- - Tightening torque: 6 ftlb.
19. Place fuse element on threaded bolts -Arrow C- and tighten using new fastening nuts. -4- - Tightening torque: 15 ftlb.
20. Place fuse element on threaded bolts -Arrow D- and tighten using new fastening nuts. -5- - Tightening torque: 3.5 ftlb.







21. Push in cover of power distributor from front to back -Arrow A- and press on -Arrow B- until the latch engages.







INFORMATION: Only for vehicles with auxiliary battery

22. Push line for auxiliary battery onto threaded bolt -Arrow A- and screw down with fastening nut -3- - Tightening torque: 15 ftlb.
23. Close the cover -Arrow B- until locking tabs are felt to engage.







24. Fold up carpeting -arrow-, and place battery ground strap on body and tighten with fastening nut -2- - Tightening torque: 3.5 ftlb.

CAUTION:
Risk of material damage to screw connections for seat and seat frame.
- The fastening screws for seat and seat frame are coated and must be replaced after being unscrewed.
- Before screwing in the new fastening screws, clean the thread holes with an M10 x 1.5 tap.








25. Move seat in folded position backwards -Arrow A- and fold forward -Arrow B-.
26. Screw in fastening screws -1- - Tightening torque: 33 ftlb.
27. Clip in front seat trim -Arrow C-.