Curiosii for ever!: Car repair manuals for everyone.

Suspension Alignment, Complete


Suspension alignment, complete





Tools and materials

The suspension alignment of the Cayenne differs only in minor respects from that of conventional suspension alignment. These are vehicle height adjustment, wheel-load difference from left to right, special tools and corrections to wheel alignment.





Tools

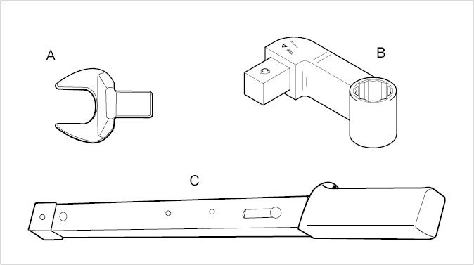
- - Accessory for torque wrench: open-jawed wrench insert, a/f 22 NR.95 - used to tighten the lock nut
A - (s) at the front tie rod(s) to the specified tightening torque. Can also be used for loosening.

- - Insert for dynamometric key: Insert T10188 - used to tighten the lock nuts of the camber and caster
B - eccentrics at the front axle to the specified tightening torque. Can also be used for loosening.

- - Torque wrench 00000 covering the range between 70 Nm (52 ftlb.) and 188 Nm (133 ftlb.).
C - Commercially available; use in combination with tools A and B.

Modified quick-clamping holders -figure- (for fastening the measured-value pickups on the wheels) are used for the Cayenne. These measured-value pickups are positioned (with the claws first) centrally in the center of the rim and tautened clockwise in the rim with the straining ring.





Quick-clamping holder

Existing quick-clamping holders (old version) can be retrofitted by replacing the left and right clamping units.

Suspension alignment, complete

Information on vehicle height/wheel load

In the case of the Cayenne, the body is supported on suspension subframes at the front and rear axles. This means that bumps in the road are absorbed by the chassis and do not reach the body. In certain cases (e.g. after removal and installation of power unit) the alignment values may not be reached. In such cases, the suspension subframe may be shifted slightly.

The suspension alignment of the Cayenne differs only in minor respects from that of conventional suspension alignment. This applies to both the front and the rear axles.

The varying strength spring shim, at the bottom between coil springs and spring seats (on the right and left spring struts of the front and rear axles) is not intended for changing the vehicle height but for compensating for differences in coil-spring load groups.

If the differences in wheel load are too large, the arrangement of the coil springs (same coil springs left/right) and the arrangement of the shims at the bottom (same shims at bottom left/right) must be checked. Only coil springs and bottom shims with the same color coding should be installed on left and right.

Due to varying equipment versions (optional extras) a maximum difference in wheel load of 40 kg from left to right is permitted per axle. This results partly from heavier components compared with standard equipment and partly from additional components being asymmetrically arranged.

Information
^ In general, the following applies: max. 40 kg wheel load difference left to right per axle. However, no more than 60 kg difference in total between front axle and rear axle.

^ In other words: A maximum of 40 kg at one axle and a maximum of 20 kg at the other axle.

Special notes for vehicles with air suspension

If the vehicle is a Cayenne with air suspension, it must be adjusted to normal level. Adjust from the low level to the normal level for the vehicle. Only align and adjust the vehicle in this position.

If the control unit or one of the self-levelling sensors has been replaced, a calibration must be carried out with the Porsche System Tester.

Adjust vehicle to normal level:

Stop vehicle and apply brake.

Close vehicle doors.

Tap the right-hand rocker switch on the center console in the appropriate direction until vehicle has reached the low level. Then adjust to the vehicle's normal level. The middle indicator light next to the rocker switch is permanently on. If a further indicator light should come on, a different level is set.

To avoid level adjustment of the air suspension during alignment, switch off level adjustment and switch it back on again when the work is complete.

Information about wheel-alignment corrections for rear axle

Warning
Risk due to malfunction in PSM control range if steering angle sensor is uncalibrated or incorrectly calibrated.
^ Injury and material damage possible.


- Calibrate steering angle sensor with wheels in straight-ahead position using the Porsche System Tester.

- The steering angle sensor actual value must be checked after a suspension alignment where no changes have been made to the wheel alignment values.

The kinematic toe-in and caster cannot be adjusted!!

Camber and toe can be adjusted via eccentric adjusters!

Information about wheel-alignment corrections for front axle

Warning
Risk due to malfunction in PSM control range if steering angle sensor is uncalibrated or incorrectly calibrated.
^ Injury and material damage possible.


- Calibrate steering angle sensor with wheels in straight-ahead position using the Porsche System Tester.

- The steering angle sensor actual value must be checked after a suspension alignment where no changes have been made to the wheel alignment values.

The steering-angle sensor must be calibrated if the previous wheel alignment values (on rear and/or front axle) were changed.

After adjusting the toe, the lock nuts on the tie rods must be tightened to the specified tightening torque of 70 Nm (52 ftlb.)!

Use correct tightening torques!

General procedure for suspension alignment

Information
^ Carry out suspension alignment with an optical or electronic wheel alignment tester!

^ The measurement procedures should be taken from the operating instructions for the wheel alignment tester used!

To exclude erroneous measurements, the following preconditions must be met before alignment and the following points should be given special attention:

Curb weight of vehicle, i.e. vehicle in running condition, fully tanked with tire repair kit or spare wheel and tools.

Ball-joint and wheel-bearing play in order (wheel-bearing play cannot be adjusted).

Tire pressure in accordance with specifications, fairly uniform tire tread.

Quick-clamping holder for Cayenne (for the measured-value pickups) correctly fastened to the wheels.

Receiving surfaces for the quick-clamping holder on the wheels must be clean and flat. In particular, always accurately check the levelling surface on the wheels before fitting the quick-clamping holders.

Strictly comply with maintenance intervals for measuring equipment and measuring platform. If the levelling of the measuring platform or of the measuring area is done in-house, levelling equipment is required. A hose level is inadequate!

Skilled handling of measuring equipment and measuring platform.

Sliding plates with transverse motion (rotary motion) at the rear axle are advisable.

Observe the Technical Literature of Porsche AG, the manufacturer of the measuring equipment and the manufacturer of the measuring platform.

Do not treat measured values as a whole, but very critically in regard to driving dynamics, high-speed strength of the tires, tire wear and cost/benefit effects (time required for correction of unimportant deviations). The toe values are critical for driving dynamics and tire wear.

If the vehicle is measured front and rear, check and adjust the wheel alignment values at the rear axle first. Camber values at the front axle apply for the straight-ahead position of the wheels. Steering wheel and steering gear in center position when toe is being adjusted.

Before wheel alignment values are adjusted at the front and rear axles, it is recommended that the vehicle height be checked at curb weight. Conclusions can then be drawn about wheel alignment values in the event of any suspension alignment that becomes necessary later.

Vehicle height (vehicle height check) - General

The vehicle height at front and rear axle is not adjustable.

The check points for the vehicle height can be found in the following description.

Vehicle height (vehicle height check) - Preliminary work

1. To carry out height check, position ready-to-drive vehicle (fully tanked with tire repair kit or spare wheel and tools) on a flat surface or on the measuring station. In the case of vehicles with air suspension, the normal vehicle level must be set. Adjust from the low level to the normal level for the vehicle. Normal level means: Start the engine so that the compressor is running. If there is sufficient air in the pressure tanks, the engine does not need to be started. Tap the right-hand rocker switch on the center console in the appropriate direction until vehicle has reached the low level. Then adjust to the vehicle's normal level. The middle indicator light next to the rocker switch is permanently on. If a further indicator light should come on, a different level is set.
2. To avoid level adjustment of the air suspension during alignment, switch off level adjustment and switch it back on again when the work is complete.
3. Compress vehicle at front and rear axles by approximately 25 mm 2-3 times and allow it to spring back freely.

Vehicle height (vehicle height check) - rear axle

The measurement is made from the wheel contact area to the bottom edge of the side member of the suspension subframe -A- (in front of drain bore at connection point of control arm to suspension subframe).





Measuring point for vehicle height - rear axle

Vehicle height (vehicle height check) - front axle

The measurement is made from the wheel contact area to the bottom edge of the side member -A- of the front axle suspension subframe (between camber and caster eccentric).





Measuring point for vehicle height - front axle

Vehicle height (vehicle height check) - wheel alignment

Warning
Risk due to malfunction in PSM control range if steering angle sensor is uncalibrated or incorrectly calibrated.
^ Injury and material damage possible.


- Calibrate steering angle sensor with wheels in straight-ahead position using the Porsche System Tester.

- The steering angle sensor actual value must be checked after a suspension alignment where no changes have been made to the wheel alignment values.

Only check or adjust wheel-alignment values when specified preconditions are met.

If the vehicle is measured front and rear, check and adjust the rear axle first.

After adjustment, tighten the appropriate screw connections to the specified tightening torque.

The steering-angle sensor must be calibrated if the previous wheel alignment values (on rear and/or front axle) have been changed.

Rear axle

1. Prepare vehicle for checking and/or adjustment of wheel alignment values.
2. Place front wheels on rotary table and rear wheels on rotary/sliding plates.
3. Compress vehicle at front and rear axles by approximately 25 mm 2-3 times and allow it to spring back freely.

Adjusting

Adjusting rear axle camber

Warning
Risk due to malfunction in PSM control range if steering angle sensor is uncalibrated or incorrectly calibrated.
^ Injury and material damage possible.


- Calibrate steering angle sensor with wheels in straight-ahead position using the Porsche System Tester.

- The steering angle sensor actual value must be checked after a suspension alignment where no changes have been made to the wheel alignment values.

Specified tightening torque for fastening nut on camber eccentric adjuster -A- = 180 Nm (133 ftlb.)!





Camber eccentric adjuster -A-

Camber is adjusted at the camber eccentric adjuster -A-!

- After loosening fastening nut, turn camber eccentric adjuster -A- as required.





Camber eccentric adjuster -A-

Adjusting rear axle toe

Warning
Risk due to malfunction in PSM control range if steering angle sensor is uncalibrated or incorrectly calibrated.
^ Injury and material damage possible.


- Calibrate steering angle sensor with wheels in straight-ahead position using the Porsche System Tester.

- The steering angle sensor actual value must be checked after a suspension alignment where no changes have been made to the wheel alignment values.

Specified tightening torque for fastening nut to toe eccentric -B- = 180 Nm (133 ftlb.)!

Toe is adjusted at toe eccentric -B-!





Toe eccentric -B-

- After loosening fastening nut, turn toe eccentric -B- as required.





Toe eccentric -B-

Adjusting front axle camber

Warning
Risk due to malfunction in PSM control range if steering angle sensor is uncalibrated or incorrectly calibrated.
^ Injury and material damage possible.


- Calibrate steering angle sensor with wheels in straight-ahead position using the Porsche System Tester.

- The steering angle sensor actual value must be checked after a suspension alignment where no changes have been made to the wheel alignment values.

Specified tightening torque for fastening nut on camber eccentric adjuster -A- = 180 Nm (133 ftlb.)!





Camber eccentric adjuster -A-

Camber is adjusted at the camber eccentric adjuster -A-.

Adjusting front axle caster

Specified tightening torque for fastening nut on caster eccentric adjuster -B- = 180 Nm (133 ftlb.)!





Caster eccentric adjuster -B-

Caster is adjusted at the caster eccentric adjuster -B-.

Adjusting front axle toe

Warning
Risk due to malfunction in PSM control range if steering angle sensor is uncalibrated or incorrectly calibrated.
^ Injury and material damage possible.


- Calibrate steering angle sensor with wheels in straight-ahead position using the Porsche System Tester.

- The steering angle sensor actual value must be checked after a suspension alignment where no changes have been made to the wheel alignment values.

The steering-angle sensor must be calibrated if the previous wheel alignment values (on rear and/or front axle) were changed!

Tighten lock nut on tie rod at -C- to 70 Nm (52 ftlb.) in conjunction with accessory for torque wrench: open-jawed wrench insert a/f 22 NR.95.





Open-jawed wrench insert, a/f 22

If the specified tightening torque has not been reached after alignment on the alignment platform (due to reasons of space), turn the steering to left and right and tighten the tie rod screws! Counter with open-ended wrench!





Toe adjustment -C-

The toe is adjusted at the tie rod threaded joint for the tie rod/tie rod ball (ball joint) -C-.

Preliminary work:

1. Check whether the steering wheel is displaced with respect to the steering gear.
2. To do this, center the steering gear as described below.
3. Turn wheels to the straight-ahead position.
4. Remove cover for underbody (transmission protection) and heat shield from the steering -arrows-.





Heat shield/steering attachment

5. The steering center position marking -1- is under the heat shield at the front in the direction of travel on the steering gear housing (shown here looking in the direction of travel on a removed unit for clarity).





Steering center position marking

1 - Steering center position marking

2 - Broken off remains(retaining pin for new steering gear breaks off the first time the steering is used.)

No. -2- is the remains of the desired breaking point from the locking pin on new steering gears! This locks the steering gear in the center position! After installation of a new steering gear, the lower part of the pin is sheared off at the desired breaking point by turning the steering wheel.

6. Afterwards, adjust front wheel alignment if necessary until marking on steering housing (triangle) is aligned with the marking lug -1- of the driver.

If necessary, reposition the steering wheel. When repositioning the steering wheel, try to get the best position.

Warning
Risk of accident due to triggering of the airbag (malfunction in the airbag system) caused by improper work on airbag components cannot be ruled out.
^ In the case of such a malfunction, an unsuitable steering-wheel holder could cause injury or damage.


- Use only steering wheel holders which do not project into the area of the airbag unit.

- Observe safety regulations when working on vehicles with airbags.

7. Clamp steering wheel in center position with steering wheel holder.





Steering wheel holder

Information
^ Use only steering wheel holders that do not project into the area of the airbag unit!

^ If necessary, shorten guide rod at top!

8. Adjust toe at hexagon of tie rod(s) after releasing lock nut(s). The steering-angle sensor must subsequently be calibrated by PSM.

Warning
Risk due to malfunction in PSM control range if steering angle sensor is uncalibrated or incorrectly calibrated.
^ Injury and material damage possible.


- Calibrate steering angle sensor with wheels in straight-ahead position using the Porsche System Tester.

- The steering angle sensor actual value must be checked after a suspension alignment where no changes have been made to the wheel alignment values.





Toe adjustment -C-

Specified tightening torque of fastening nut(s) (lock nut) -C- = 70 Nm (52 ftlb.)

Front-axle toe-difference angle

The toe-difference angle is not adjustable.