Curiosii for ever!
: Car repair manuals for everyone.
Home
>>
Porsche
>>
2009
>>
Cayenne (9PA) V6-3.6L
>>
Repair and Diagnosis
>>
Accessories and Optional Equipment
>>
General Module
>>
Testing and Inspection
>>
Initial Inspection and Diagnostic Overview
>>
PCM/CDR23
>>
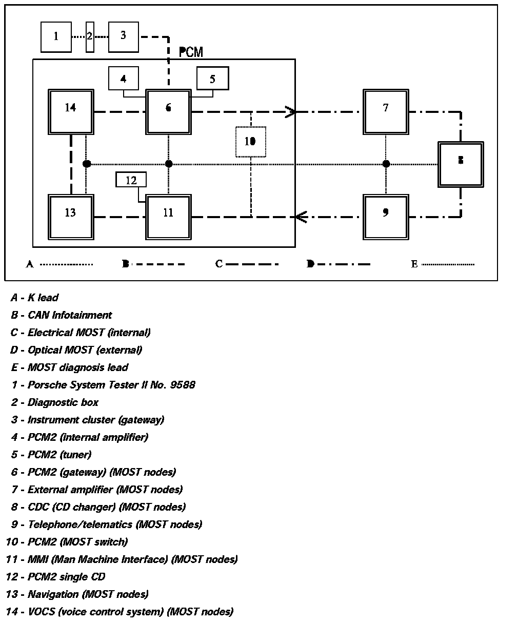
Function of the Components
Function of the Components