Curiosii for ever!: Car repair manuals for everyone.

Variable Valve Lift Monitoring



Variable Valve Lift Monitoring

System design of variable valve lift at Porsche







Diagnosis via uneven running
In the case of a defective valve lifter, the uneven running of the concerned cylinder rises in comparison to its opposite cylinder. In order to differentiate this to a misfire, a plausibility check of the lambda controllers under partial load is performed.

schematic overview of the diagnosis:







The diagnosis is disabled at:
- power stage error of switching valves
- evaluation of uneven running is disabled

Diagnosis via lambda regulator
A defective solenoid valve will lead to a faulty function of the whole cylinder bank. The diagnosis for detecting this malfunction is performed according to the following scheme:







The monitor runs immediately after a shift to large valve lift for approximately 3 sec. This strategy enables the diagnosis to also detect a slow shifting cylinder bank.

The diagnosis is disabled at:
- power stage error of solenoid valves
- oil temperature > threshold
- during catalyst heating +
- lambda control not active

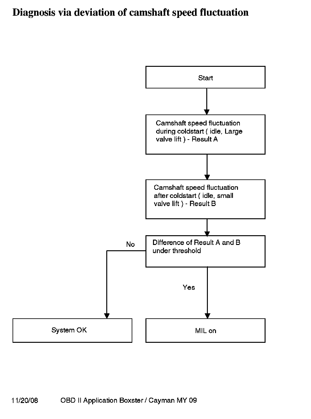
Diagnosis via deviation of camshaft speed fluctuation
If both solenoid valves have a malfunction the diagnosis is performed according to the following scheme:







The monitor runs after coldstart with large valve lift during engine idle and vehicle speed at zero. A second phase of engine idle and vehicle speed at zero is needed after coldstart. In both phases the position of the camshaft has to be static.

The diagnosis is disabled at:
- power stage error of solenoid valves
- oil temperature out of limits