Curiosii for ever!: Car repair manuals for everyone.

Ignition System Monitoring



Ignition System Monitoring

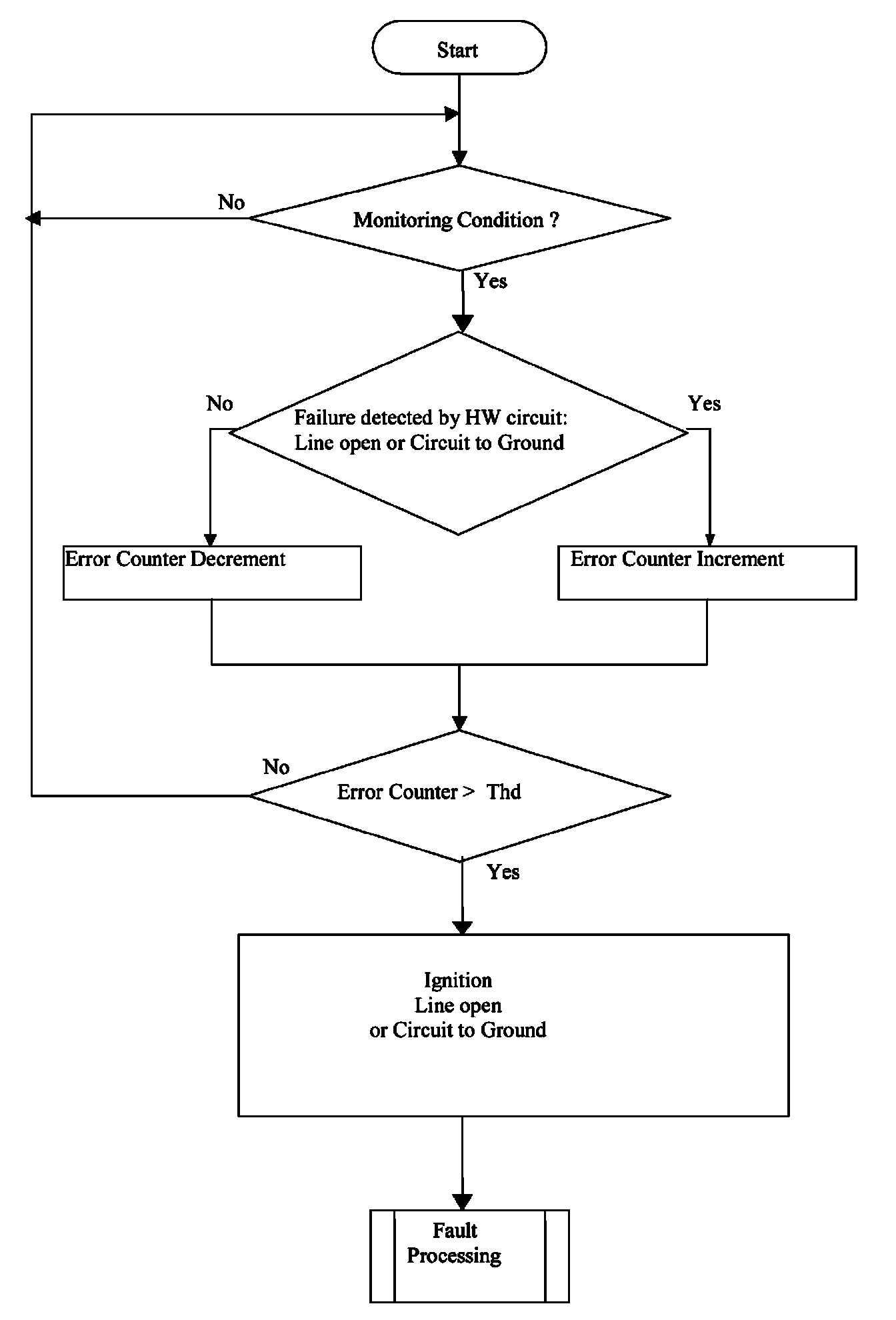
Ignition Coil Monitoring : Open line and Short circuit to ground

Description:
The purpose of this diagnostic is to check the integrity of the connection line in between ECU and coil (Open line, SCG).

Monitoring conditions:
see summary table

Monitoring Function
The diagnosis is made with an integrated circuit which detects a failure in the command line of the ignition coils.

The following malfunctions are detected:
- Short circuit to ground
- Open load

Flow Chart: Ignition Diagnosis OL - SCG







Ignition Coil Monitoring : Short circuit to battery

Description:
The purpose of this diagnostic is to check the integrity of the connection line in between ECU and coil. (Short Circuit to battery)

Monitoring conditions:
see summary table

Monitoring Function
The diagnosis is made with an integrated circuit which detects a failure in the command line of the ignition coils.

The following malfunctions are detected:
- Short circuit to battery

Flow Chart: Ignition Diagnosis - SCB







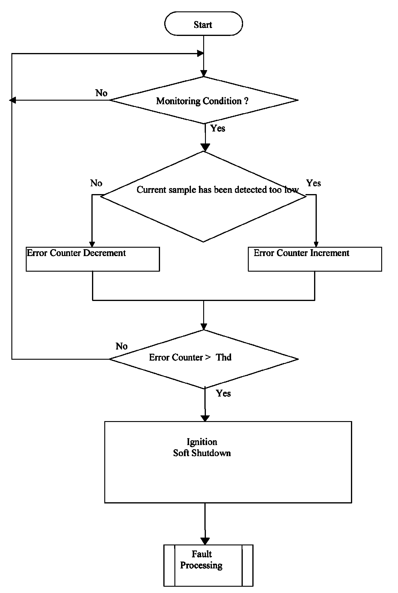
Ignition Coil Monitoring : Soft shutdown detection

Description:
The purpose of this diagnostic is to detect that coil has been cut-off without producing spark.

Monitoring conditions:
see summary Table

Monitoring Function
The diagnosis is made by an analogue acquisition of current feedback of the coil. If this current feedback is below than a calibratable threshold, soft shutdown is detected.

The following malfunctions are detected:
- Soft shutdown of ignition coil

Flow Chart: Ignition Diagnosis - SSDN