Curiosii for ever!: Car repair manuals for everyone.

Tightening Torques



Tightening torques - MA.101 and MA.102














Information

Crankcase





Crankcase 9A1

1 - Crankcase
2 - Dowel sleeve
3 - Lid
4 - O-ring
5[1] - Stud, micro-self-locking (use Loctite 243 and leave to harden for at least 3 hours). - Tightening torque: 5 Nm (3.5 ft lb.)
6 - Screw plug - Tightening torque: 80 Nm (59 ft lb.)
7 - Sealing ring
8 - Dowel sleeve
9 - Torx screw (tighten torque angle in 2 stages) - Initial tightening: 5 Nm (3.5 ft lb.) - Tightening torque: 12 Nm (9 ft lb.) - Tightening torque: 15 Nm (11 ft lb.) - Torque angle: 75° - Torque angle: 75°
10 - Torx screw - Tightening torque: 33 Nm (24 ft lb.)
11 - Torx screw - Tightening torque: 13 Nm (9.5 ft lb.)
12 - Torx screw - Tightening torque: 13 Nm (9.5 ft lb.)
13 - Torx screw - Tightening torque: 13 Nm (9.5 ft lb.)
14[1] - Stud (use Loctite and leave to harden for at least 1 hour) - Tightening torque: 5 Nm (3.5 ft lb.)
15 - Lid
16 - Speed sensor
17 - Fastening screw for speed sensor - Tightening torque: 10 Nm (7.5 ft lb.)
18 - Knock sensor - Tightening torque: 23 Nm (17 ft lb.)
19 - Fastening screw securing knock sensor
29 - Transport eyebolt
21 - Torx screw - Tightening torque: 13 Nm (9.5 ft lb.)





Tightening sequence for crankcase screws

Information

Crank drive, pistons





Connecting rod bolts

1 - Connecting rod bolts - Initial tightening: 20 Nm (15 ft lb.) - Torque angle: 80°





Belt drive

1 - Torx screw for unit carrier - Tightening torque: 33 Nm (24 ft lb.)
2 - Torx screw for unit carrier - Tightening torque: 33 Nm (24 ft lb.)
3 - Torx screw for unit carrier - Tightening torque: 33 Nm (24 ft lb.)
4 - Countersunk screw - Tightening torque: 23 Nm (17 ft lb.)
5 - Countersunk screw - Tightening torque: 23 Nm (17 ft lb.)

Information

Cylinder head, valve drive





Cylinder head screws

1 - Cylinder head screw - Tightening torque: 13 Nm (9.5 ft lb.)
2 - Cylinder head screw - Tightening torque: 13 Nm (9.5 ft lb.)
3 - Cylinder head screw - Initial tightening: 5 Nm (3.5 ft lb.) - Tightening torque: 50 Nm (37 ft lb.) Loosen all screws and then tighten them again - Initial tightening: 5 Nm (3.5 ft lb.) - Tightening torque: 12 Nm (9 ft lb.) - Torque angle: 60° - Torque angle: 60°
4 - Cylinder head screw - Initial tightening: 5 Nm (3.5 ft lb.) - Tightening torque: 50 Nm (37 ft lb.) Loosen all screws and then tighten them again - Initial tightening: 5 Nm (3.5 ft lb.) - Tightening torque: 12 Nm (9 ft lb.) - Torque angle: 60° - Torque angle: 60°





Tightening sequence for cylinder head screws





Camshaft bearing covers

1 - Observe tightening sequence for fastening screw on bearing cover - Initial tightening: 5 Nm (3.5 ft lb.) - Tightening torque: 5 Nm (3.5 ft lb.) - Torque angle: 50°
2 - Camshaft bearing cover
3 - Dowel sleeve
4 - Bearing saddle
5 - Fastening screw - Initial tightening: 5 Nm (3.5 ft lb.) - Tightening torque: 5 Nm (3.5 ft lb.) - Torque angle: 50°





Tightening sequence for camshaft bearing cover





Fastening screws for camshaft controller/sprocket

1 - Fastening screw for camshaft controller - Tightening torque: 35 Nm (26 ft lb.) - Torque angle: 120°
2 - Fastening screws for camshaft timing gear - Tightening torque: 30 Nm (22 ft lb.) - Torque angle: 70°





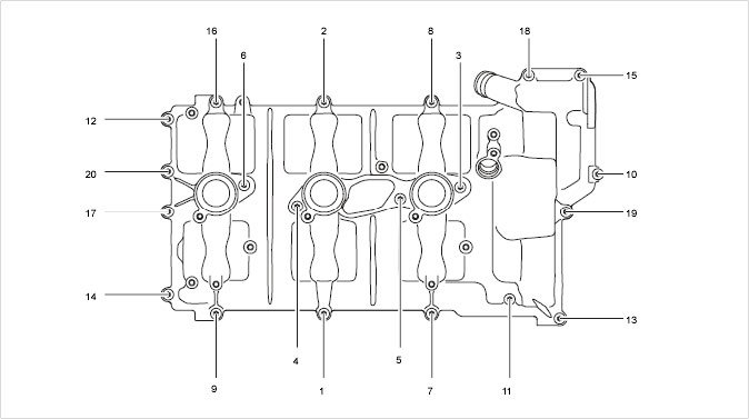
Cylinder head cover

1 through 20 - Tighten screws 1 to 4 a second time - Tightening torque: 13 Nm (9.5 ft lb.)





Spacer

1 - Spacer
2 - Torx screw - Tightening torque: 13 Nm (9.5 ft lb.)
3 - Screw plug for secondary air duct - Tightening torque: 25 Nm (19 ft lb.)
4 - Scavenging restrictor - Tightening torque: 3 Nm (2 ft lb.)

Information

Lubrication





Oil pump

1 - Fastening screw - Tightening torque: 13 Nm (9.5 ft lb.)
2 - Cap screw - Tightening torque: 40 Nm (30 ft lb.)
3 - Fastening screw - Tightening torque: 13 Nm (9.5 ft lb.)
4 - Fastening screw - Tightening torque: 13 Nm (9.5 ft lb.)
5 - Fastening screw - Tightening torque: 13 Nm (9.5 ft lb.)
6 - Fastening screw - Tightening torque: 13 Nm (9.5 ft lb.)
7 - Fastening screw - Tightening torque: 13 Nm (9.5 ft lb.)





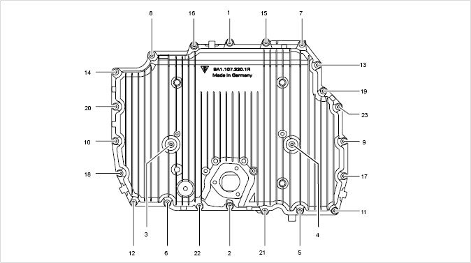
Oil pan

1 - Fastening screw - Tightening torque: 13 Nm (9.5 ft lb.)
2 - Fastening screw - Tightening torque: 13 Nm (9.5 ft lb.)
3 - Screw plug - Tightening torque: 50 Nm (37 ft lb.)





Tightening sequence for upper part of oil pan

1-21 - Tightening sequence for screws in upper part of oil pan





Tightening sequence for lower part of oil pan

1-21 - Tightening sequence for lower part of oil pan





Oil module

1 - Fastening screw - Tightening torque: 13 Nm (9.5 ft lb.)
2 - Fastening screw - Tightening torque: 13 Nm (9.5 ft lb.)
3 - Fastening screw - Tightening torque: 13 Nm (9.5 ft lb.)
4 - Fastening screw - Tightening torque: 13 Nm (9.5 ft lb.)
5 - Fastening screw - Tightening torque: 13 Nm (9.5 ft lb.)
6 - Lid - Tightening torque: 25 Nm (19 ft lb.)
7 - Fastening screw - Tightening torque: 13 Nm (9.5 ft lb.)

Information

Cooling





Thermostat

1 - Fastening screw - Tightening torque: 13 Nm (9.5 ft lb.)
2 - Screw plug for coolant pump
3 - Fastening screw for water guide - Tightening torque: 13 Nm (9.5 ft lb.)
4 - Fastening screw - Tightening torque: 13 Nm (9.5 ft lb.)
5 - Fastening screw - Tightening torque: 13 Nm (9.5 ft lb.)
6 - Fastening screw - Tightening torque: 13 Nm (9.5 ft lb.)





Coolant pump

1 - Fastening screw - Tightening torque: 13 Nm (9.5 ft lb.)
2 - Fastening screw - Tightening torque: 13 Nm (9.5 ft lb.)
3 - Fastening screw - Tightening torque: 13 Nm (9.5 ft lb.)
4 - Fastening screw - Tightening torque: 13 Nm (9.5 ft lb.)
5 - Fastening screw - Tightening torque: 13 Nm (9.5 ft lb.)
6 - Fastening screw - Tightening torque: 23 Nm (17 ft lb.)

Flywheel
Initial tightening 25 Nm (19 ft lb.)
Final tightening - torque angle 120°
Tighten fastening screws evenly and crosswise to the prescribed
tightening torque

Dual-mass flywheel
Initial tightening 25 Nm (19 ft lb.)
Final tightening - torque angle 120°
Tighten fastening screws evenly and crosswise to the prescribed tightening torque

Intake-air distributor 13 Nm (9.5 ft lb.)





Exhaust manifold 23 Nm (17 ft lb.)

Vibration damper 60 Nm (44 ft lb.)