Curiosii for ever!: Car repair manuals for everyone.

Tightening Torques



Tightening torques - MA.101 and MA.102














Information

Group 10 - Crankcase





Crankcase 9A1

1 - Crankcase

2 - Dowel sleeve

3 - Lid

4 - O-ring

5[1] - Stud, micro-self-locking (use Loctite 243 and leave to harden for at least 3 hours). - Tightening torque: 5 Nm (3.5 ft lb.)

6 - Screw plug - Tightening torque: 80 Nm (59 ft lb.)

7 - Sealing ring

8 - Dowel sleeve

9 - Torx screw (tighten torque angle in 2 stages) - Initial tightening: 5 Nm (3.5 ft lb.) - Tightening torque: 12 Nm (9 ft lb.) - Tightening torque: 15 Nm (11 ft lb.) - Torque angle: 75° - Torque angle: 75°

10 - Torx screw - Tightening torque: 33 Nm (24 ft lb.)

11 - Torx screw - Tightening torque: 13 Nm (9.5 ft lb.)

12 - Torx screw - Tightening torque: 13 Nm (9.5 ft lb.)

13 - Torx screw - Tightening torque: 13 Nm (9.5 ft lb.)

14[1] - Stud (use Loctite and leave to harden for at least 1 hour) - Tightening torque: 5 Nm (3.5 ft lb.)

15 - Lid

16 - Speed sensor

17 - Fastening screw for speed sensor - Tightening torque: 10 Nm (7.5 ft lb.)

18 - Knock sensor - Tightening torque: 23 Nm (17 ft lb.)

19 - Fastening screw securing knock sensor

29 - Transport eyebolt

21 - Torx screw - Tightening torque: 13 Nm (9.5 ft lb.)

[1] If the threaded bolt unscrews: Clean the thread. Check that it is free of grease and oil and is completely dry. Apply a 2-mm coating of Loctite 243 all the way around on the first thread of the crankcase bore. Observe the specified hardening time.





Tightening sequence for crankcase screws

Information

Group 13 - Crank drive, pistons





Connecting rod bolts

1 - Connecting rod bolts - Initial tightening: 20 Nm (15 ft lb.) - Torque angle: 80°





Belt drive

1 - Torx screw for unit carrier - Tightening torque: 33 Nm (24 ft lb.)

2 - Torx screw for unit carrier - Tightening torque: 33 Nm (24 ft lb.)

3 - Torx screw for unit carrier - Tightening torque: 33 Nm (24 ft lb.)

4 - Countersunk screw - Tightening torque: 23 Nm (17 ft lb.)

5 - Countersunk screw - Tightening torque: 23 Nm (17 ft lb.)

Information

Group 15 - Cylinder head, valve drive





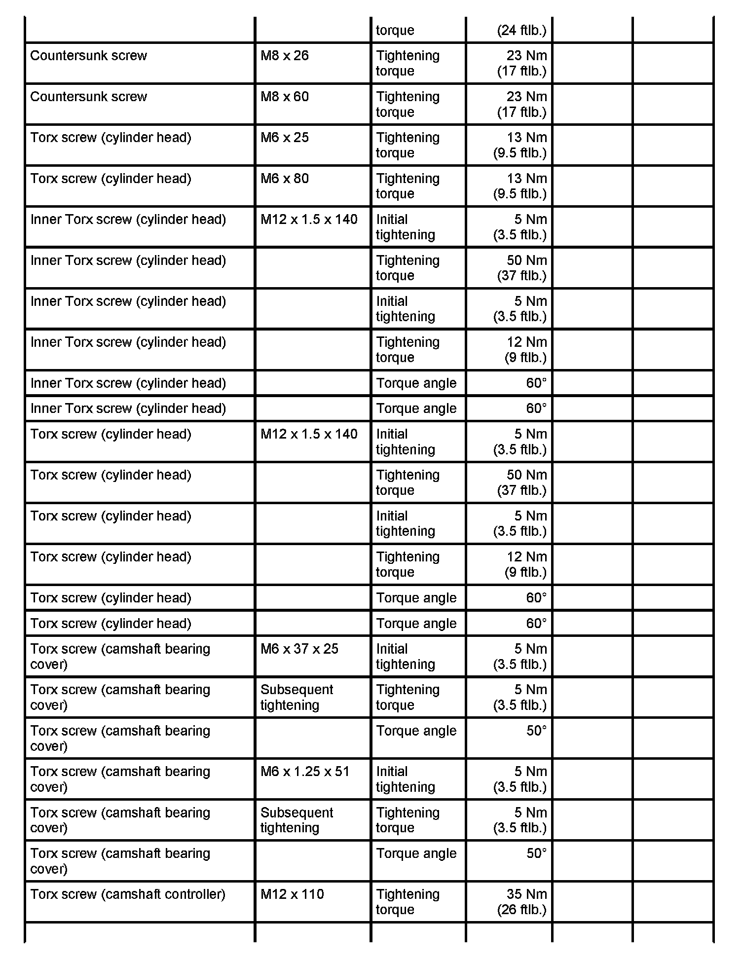
Cylinder head screws

1 - Cylinder head screw - Tightening torque: 13 Nm (9.5 ft lb.)

2 - Cylinder head screw - Tightening torque: 13 Nm (9.5 ft lb.)

3 - Cylinder head screw - Initial tightening: 5 Nm (3.5 ft lb.) - Tightening torque: 50 Nm (37 ft lb.) Loosen all screws and then tighten them again - Initial tightening: 5 Nm (3.5 ft lb.) - Tightening torque: 12 Nm (9 ft lb.) - Torque angle: 60° - Torque angle: 60°

4 - Cylinder head screw - Initial tightening: 5 Nm (3.5 ft lb.) - Tightening torque: 50 Nm (37 ft lb.) Loosen all screws and then tighten them again - Initial tightening: 5 Nm (3.5 ft lb.) - Tightening torque: 12 Nm (9 ft lb.) - Torque angle: 60° - Torque angle: 60°





Tightening sequence for cylinder head screws





Camshaft bearing covers

1 - Observe tightening sequence for fastening screw on bearing cover - Initial tightening: 5 Nm (3.5 ft lb.) - Tightening torque: 5 Nm (3.5 ft lb.) - Torque angle: 50°

2 - Camshaft bearing cover

3 - Dowel sleeve

4 - Bearing saddle

5 - Fastening screw - Initial tightening: 5 Nm (3.5 ft lb.) - Tightening torque: 5 Nm (3.5 ft lb.) - Torque angle: 50°





Tightening sequence for camshaft bearing cover





Fastening screws for camshaft controller/sprocket

1 - Fastening screw for camshaft controller - Tightening torque: 35 Nm (26 ft lb.) - Torque angle: 120°

2 - Fastening screws for camshaft timing gear - Tightening torque: 30 Nm (22 ft lb.) - Torque angle: 70°





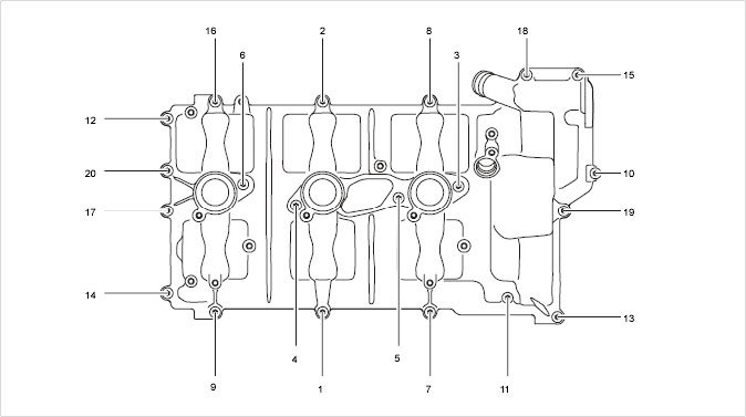
Cylinder head cover

1 to 20 - Tighten screws 1 to 4 a second time - Tightening torque: 13 Nm (9.5 ft lb.)





Spacer

1 - Spacer

2 - Torx screw - Tightening torque: 13 Nm (9.5 ft lb.)

3 - Screw plug for secondary air duct - Tightening torque: 25 Nm (19 ft lb.)

4 - Scavenging restrictor - Tightening torque: 3 Nm (2 ft lb.)

Information

Group 17 - Lubrication





Oil pump

1 - Fastening screw - Tightening torque: 13 Nm (9.5 ft lb.)

2 - Cap screw - Tightening torque: 40 Nm (30 ft lb.)

3 - Fastening screw - Tightening torque: 13 Nm (9.5 ft lb.)

4 - Fastening screw - Tightening torque: 13 Nm (9.5 ft lb.)

5 - Fastening screw - Tightening torque: 13 Nm (9.5 ft lb.)

6 - Fastening screw - Tightening torque: 13 Nm (9.5 ft lb.)

7 - Fastening screw - Tightening torque: 13 Nm (9.5 ft lb.)





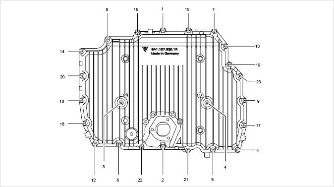
Oil pan

1 - Fastening screw - Tightening torque: 13 Nm (9.5 ft lb.)

2 - Fastening screw - Tightening torque: 13 Nm (9.5 ft lb.)

3 - Screw plug - Tightening torque: 50 Nm (37 ft lb.)





Tightening sequence for upper part of oil pan

1-21 - Tightening sequence for screws in upper part of oil pan





Tightening sequence for lower part of oil pan

1-21 - Tightening sequence for lower part of oil pan





Oil module

1 - Fastening screw - Tightening torque: 13 Nm (9.5 ft lb.)

2 - Fastening screw - Tightening torque: 13 Nm (9.5 ft lb.)

3 - Fastening screw - Tightening torque: 13 Nm (9.5 ft lb.)

4 - Fastening screw - Tightening torque: 13 Nm (9.5 ft lb.)

5 - Fastening screw - Tightening torque: 13 Nm (9.5 ft lb.)

6 - Lid - Tightening torque: 25 Nm (19 ft lb.)

7 - Fastening screw - Tightening torque: 13 Nm (9.5 ft lb.)

Information

Group 19 - Cooling





Thermostat

1 - Fastening screw - Tightening torque: 13 Nm (9.5 ft lb.)

2 - Screw plug for coolant pump

3 - Fastening screw for water guide - Tightening torque: 13 Nm (9.5 ft lb.)

4 - Fastening screw - Tightening torque: 13 Nm (9.5 ft lb.)

5 - Fastening screw - Tightening torque: 13 Nm (9.5 ft lb.)

6 - Fastening screw - Tightening torque: 13 Nm (9.5 ft lb.)





Coolant pump

1 - Fastening screw - Tightening torque: 13 Nm (9.5 ft lb.)

2 - Fastening screw - Tightening torque: 13 Nm (9.5 ft lb.)

3 - Fastening screw - Tightening torque: 13 Nm (9.5 ft lb.)

4 - Fastening screw - Tightening torque: 13 Nm (9.5 ft lb.)

5 - Fastening screw - Tightening torque: 13 Nm (9.5 ft lb.)

6 - Fastening screw - Tightening torque: 23 Nm (17 ft lb.)

Intake-air distributor 13 Nm (9.5 ft lb.)





Vibration damper 60 Nm (44 ft lb.)
Tighten screws uniformly

Exhaust manifold 23 Nm (17 ft lb.)
Tighten from the inside out

Flywheel - PDK transmission 25 Nm (19 ft lb.)
Tighten fastening screws evenly and crosswise

Dual-mass flywheel
Initial tightening 25 Nm (19 ft lb.)
Final tightening - torque angle 120°
Tighten fastening screws evenly and crosswise