Curiosii for ever!: Car repair manuals for everyone.

Engine Cooling System Monitoring



Engine Cooling System Monitoring

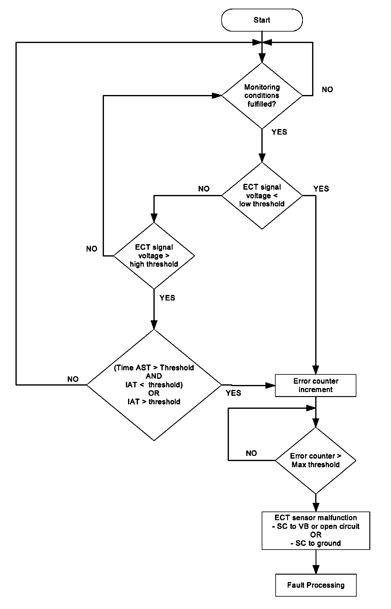
Electrical Coolant Temperature Diagnosis

General Description
The purpose of this diagnosis is to detect electrical faults of the sensor signal. The input signal is analog from a NTC and has to be in a calibratable range. Short cut to ground can be detected immediately, short cut to voltage battery or open load after a delay time. If an error symptom is detected, the error counter is de-bounced.

Monitoring Conditions:
see summary table

Error Symptoms:
Short circuit to voltage battery or open circuit
Short circuit to ground

Flow chart: Coolant Temperature Sensor Diagnosis - Electrical check







Coolant Temperature Gradient Diagnosis

General Description
The purpose of this diagnosis is to detect an implausible gradient on the coolant temperature signal. The diagnostic function checks whether the difference between one measured coolant temperature value and the succeeding value is too big.

Monitoring Conditions:
see summary table

Error Symptom:
ECT signal gradient error

Flow chart: Coolant Temperature Gradient Diagnosis







Coolant Temperature Plausibility Diagnosis

General Description
To monitor if the start temperature for coolant thermostat diagnosis is reached the rationality between the measured coolant temperature increase (ECT sensor) and the calculated (modelled) ECT is checked.

This coolant temperature plausibility diagnosis is performed once per engine run. At low ambient temperature a stuck open thermostat can cause an insufficient engine warm up. In the case that the coolant temperature is lower than the start temperature for coolant thermostat diagnosis a coolant temperature plausibility error will be detected.

For RBM handling the Cold Start Denominator is considered.

Monitoring Conditions:
see summary table

Error Symptom:
ECT plausibility error

Flow chart: Coolant Temperature Plausibility Diagnosis







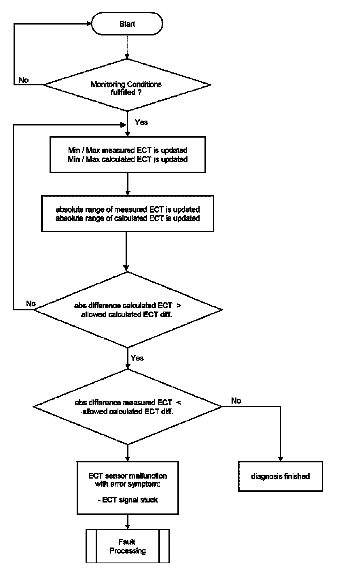
Coolant Temperature Stuck Diagnosis

General Description
The purpose of this diagnosis is to detect a stuck coolant temperature signal. The diagnostic function checks if after a variation of the calculated coolant temperature also a variation of the measured coolant temperature is detected.

For RBM handling the Cold Start Denominator is considered.

Monitoring Conditions:
see summary table

Error Symptom:
ECT signal stuck error

Flow chart: Coolant Temperature Stuck Diagnosis







Coolant Temperature Stuck High Diagnosis

General Description
The diagnosis is based on monitoring the alteration of the coolant temperature signal (positive and negative) change to determine a malfunctioning sensor stuck signal at medium to high coolant temperature values.

After engine start, a change of the coolant temperature signal caused through different engine operating conditions can be observed. The diagnosis is performed once per engine run.

After engine start the system stores continuously the lowest and highest ECT. In case that after several driving conditions the difference between ECT max and ECT min is lower than the threshold the sensor stuck at high values.

engine coolant temp.







Monitoring Conditions:
see summary table

Error Symptom:
ECT signal stuck high error

Flow chart: Coolant Temperature Stuck High Diagnosis







Coolant Temperature Stuck in Range Diagnosis

General Description
The purpose of this diagnosis is to detect a coolant temperature signal that is stuck in high range. The diagnostic function checks the rationality between the measured engine coolant temperature and the time the engine is stopped.

If the measured engine temperature at engine start is above a calibratable value and the diagnosis conditions are fulfilled, the error is set.

For RBM handling the Cold Start Denominator is considered.

Monitoring Conditions:
see summary table

Error Symptom:
ECT signal stuck in range error

Flow chart: Coolant Temperature Stuck in Range Diagnosis