Curiosii for ever!: Car repair manuals for everyone.

Engine Coolant Temperature Sensor Monitoring

Engine Coolant Temperature Sensor Monitoring

General description
The engine cooling system consist of five main parts.
1. The Engine Cooler
2. The Engine Coolant Temperature Sensor
3. The Thermostat Valve
4. The small Cooling Circuit
5. The large Cooling Circuit

During heating up the Engine the coolant flows first inside the small cooling circuit. After the coolant reach a sufficient temperature the thermostat valve will open the large cooling circuit to integrate the engine cooler.
The engine coolant temperature sensor measures a mixed temperature between the coolant coming from the small and large cooling circuit.






Monitor Functional Description
The engine cooling system monitoring strategy consists of two main diagnostic parts.






Each of the engine cooling monitoring function has its own special engine temperature range in which it will be enabled.






Cooling System Performance
In case that the engine coolant temperature does not reach an certain value after a sufficient mass air flow under normal driving conditions, the cooling system performance is considered to be reduced.






Flow Chart Cooling System Performance






Engine Coolant Temp. Sensor Rationality
First Step
In case that the measured engine coolant temperature (ECT) is below a applicable threshold after the worst-case model ECT have firstly reached a further applicable threshold, the cooling system or the temperature sensor is defective.

Second Step
In case that the measured ECT falls below a further applicable threshold after successfully passing the first step, the cooling system or the temperature sensor is defective.






Flow Chart Coolant Temperature Sensor Rationality






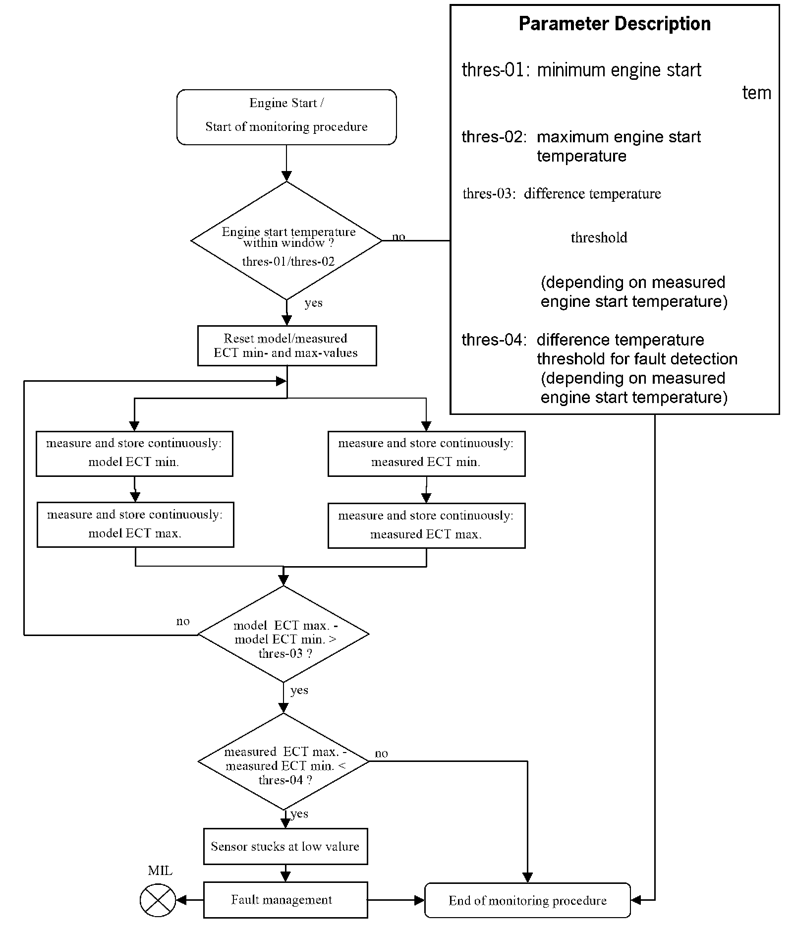
Engine Coolant Temperature Sensor Stuck Low
After engine start the system stores continuously the lowest and highest measured engine coolant temperature (ECT). Simultaneously the system also stores continuously the lowest and highest model ECT.
In case that the difference of the lowest and highest model ECT cross a applicable threshold (dependent on the measured ECT at engine start) and the difference of the lowest and highest measured ECT is below a further applicable threshold, the sensor stuck at low values.






Flow Chart Engine Coolant Temperature Sensor Stuck Low






Engine Coolant Temperature Sensor Stuck High
After engine start above enable temperature the system stores continuously the lowest and highest ECT above the thermostat control temperature for a driving cycle. In case that after several driving conditions the difference between ECT max and ECT min is lower than the threshold, the ECT will be considered stuck. Was ECT at start in regulating range, the difference of ECT will be evaluated after ignition off, during ECM keep alive time. If during this time the difference of the ECT also does not exceed the threshold, the sensor stuck at high values.






Flow Chart Engine Coolant Temperature Sensor Stuck High






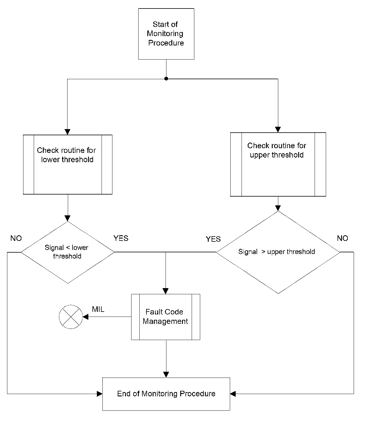
Engine Coolant Temperature Sensor Out of Range Check
The signal of Engine Coolant Temperature Sensor is evaluated and considered to be electrically out of range if either the upper or the lower thresholds is exceeded.