Curiosii for ever!: Car repair manuals for everyone.

Tightening Torques

Tightening torques for Cayenne S (M48/00) and Cayenne Turbo (M48/50)

Information





Note:
^ This torque list is organized according to component groups in the same way as service numbering.
^ The torque for the coolant pump is provided in Chapter 19.
^ The tightening sequences are indicated in the figures in the corresponding chapters, and it is essential to observe them.
^ The most important torques are specified at the end of the respective chapters.

The torques in the table below generally apply to screws which are not specifically listed.

Crankcase, Suspension (Part 1):





Crankcase, suspension

Crankcase, Suspension (Part 2):




Crankcase, Suspension (Part 3):





Tightening sequences

Tightening Sequences (Part 1):




Tightening Sequences (Part 2):




Tightening Sequences (Part 3):





Crank drive, pistons

Crank Drive, Pistons:





Cylinder head, pistons

Cylinder Head, Pistons (Part 1):




Cylinder Head, Pistons (Part 2):





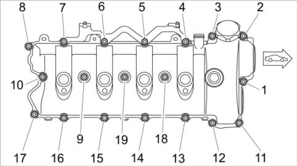
Tightening sequences

Note:
^ The exterior fastening screws must have a quality of 10.9.
^ If the quality is 8.8, the screws must be replaced.
^ Tighten screws 1 to 4 (M6 / 8.8) to 7.5 ft-lb.
^ Tighten screws 5 to 6 (M8 / 8.8) to 17 ft-lb.
^ Tighten screws 7 to 32 (M6/10.9) to 13 Nm (9.5 ft-lb.).

Tightening Sequences (Part 1):




Tightening Sequences (Part 2):




Tightening Sequences (Part 3):




Tightening Sequences (Part 4):





Lubrication

Lubrication:





Cooling

Cooling (Part 1):




Cooling (Part 2):





Tightening sequences

Tightening Sequences (Part 1):




Tightening Sequences (Part 2):





Fuel supply, control

Fuel Supply, Control:





Exhaust system, turbocharging

Exhaust System, Turbocharging:





Fuel system, electronic injection

Fuel System, Electronic Injection:





Tightening sequences

Tightening Sequences:





Exhaust system

Exhaust System:





Tightening sequences

Tightening Sequence:





Starter, power supply

Starter, Power Supply:





Ignition system

Ignition System (Part 1):




Ignition System (Part 2):