Curiosii for ever!: Car repair manuals for everyone.

Removing and Installing Cut-Off Relay For Auxiliary Battery



Removing And Installing Cutoff Relay For Auxiliary Battery

Removing cutoff relay for auxiliary battery

Overview







Removing cutoff relay for auxiliary battery
Remove auxiliary battery.

1. Release the connector -Arrows A- and pull it off -Arrow B-.







2. Release both covers -Arrows A- and open them -Arrows B-.







3. Undo both fastening nuts -1- and remove the lines -arrows-.







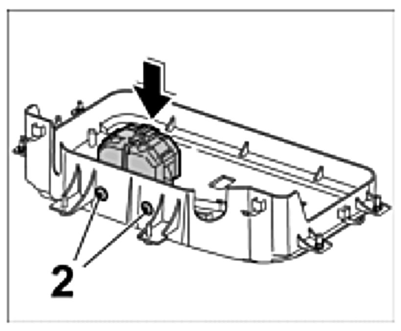
4. Undo both fastening screws -2- and remove cutoff relay -arrow-.







Installing cutoff relay for auxiliary battery
1. Position cutoff relay in installation position -arrow- and screw down with the two fastening screws -2-. Tightening torque: 4.5 ftlb..







2. Place the lines on the threaded bolts -arrows- and tighten with the two fastening nuts -1-. Tightening torque: 12 ftlb..







3. Close covers -Arrows A- until locking tabs are felt to engage -B-.







4. Push in connector -Arrow A- until the locking tabs -B- are felt to engage.







Install auxiliary battery