Curiosii for ever!: Car repair manuals for everyone.

Connector Assignment

Connector assignment

Tiptronic control module plug, '52-pin'












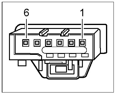
Plug 'A', selector lever switch, '6-pin'






Corresponding socket 'A', selector lever switch, '6-pin'










Socket for solenoids (transmission side) 'A', '14-pin' and sensors (transmission side) 'B', '8-pin'






Connector 'A'






Connector 'B'






Plug 'C', multi-function switch, '10-pin' (existing transmission wiring)






Corresponding socket 'C', multi-function switch, '10-pin' (existing transmission wiring)