Curiosii for ever!: Car repair manuals for everyone.

Control Module, Transfer Case

Connector assignment - transfer box control unit

Plug '47-pin'










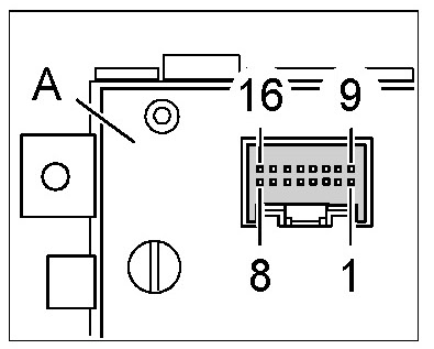
Gear selection switch connector assignment (running gear control module), '16-pin'






A - Plug connection for 'gear selection switch (running gear control module)' (at underside of housing)