Curiosii for ever!: Car repair manuals for everyone.

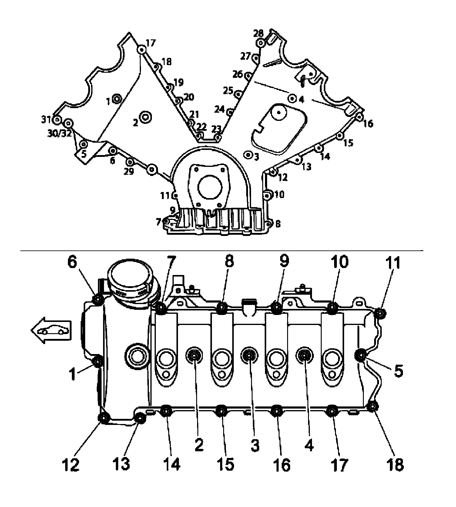
Timing Components





Timing case cover M6 See Note
Timing case cover M8 x 50 23 Nm

Note
The exterior fastening screws must have a quality of 10.9.
If the quality is 8.8, the screws must be replaced.
Tighten screws 1 to 4 (M6 / 8.8) to 7.5 ftlb.
Tighten screws 5 to 6 (M8 / 8.8) to 17 ftlb.
Tighten screws 7 to 32 (M8 / 10.9) to 9.5 ftlb