Curiosii for ever!: Car repair manuals for everyone.

Diagnosis of Electronic Control Unit

Diagnosis of Electronic Control Unit

General Description
This diagnostic function is comprised of a ROM check, a RAM check and a monitoring module check.

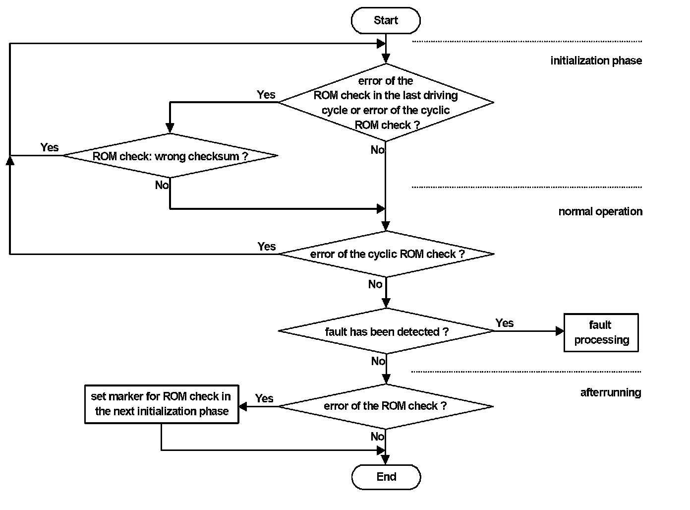
ROM check
The ROM check is performed once per driving cycle after engine shutdown. In the case of a detected fault (a wrong checksum) the ROM check is repeated in the initialization phase of the following driving cycle. A detected fault in the initialization phase causes a RESET with no function running. Only a no-fault detection in the initialization phase will lead to a normal function and storing of the ROM - fault.

A cyclic ROM check, which checks the checksum of the function monitoring, is performed continuously. A fault detection causes a RESET with a repeated ROM check in the initialization phase, as above see Controller Monitoring - ROM Check.

RAM check
The RAM check is performed once per driving cycle, one part in the initialization phase and the other part in the after running. In case of a detected fault in the after running, this part of the RAM check is repeated in the initialization phase of the following driving cycle. A detected fault in the initialization phase causes a RESET with no function running. Only a no-fault detection in the initialization phase will lead to a normal function and storing the ROM - fault.

A cyclic RAM check, which checks the writeability of the function monitoring, is performed continuously. A fault detection causes a RESET with a repeated RAM check in the initialization phase as above see Controller Monitoring - RAM Check.

Monitoring module check
The switching off of the power stages by the monitoring module is checked once per driving cycle in the initialization phase. If the switching off of the power stages by the monitoring module is impossible a RESET is performed with no function running. Only no-fault detection will lead to a normal function and storing the RST - fault.

The error counter of the monitoring module is checked continuously. If the error counter of the monitoring module has wrong values a RESET is performed with no function running. Only a no-fault detection will lead to a normal function and storing the RST - fault (see Controller Monitoring - Module Check).

Controller Monitoring - ROM Check






Controller Monitoring - RAM Check






Controller Monitoring - Module Check