Curiosii for ever!: Car repair manuals for everyone.

Subframe: Service and Repair


WM 518941 Repairing threaded bushes for suspension subframe installation

- Installing threaded bush

Tools










Installing threaded bush

Installing repair threaded bush





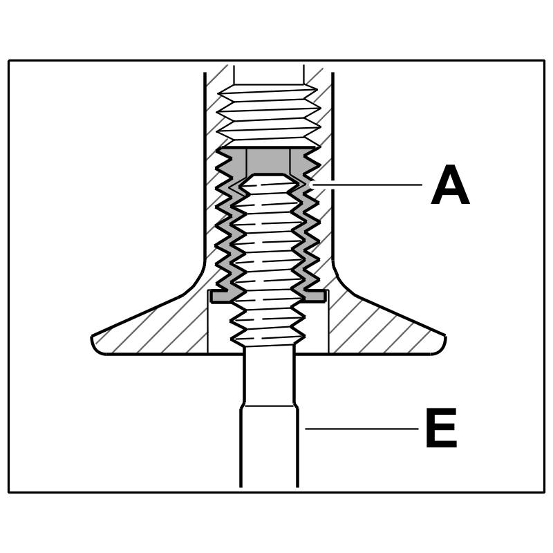
Installation position of threaded bush for suspension subframe mount





NOTICE

Improper thread repairs

- Damaged thread

-> Thread repairs can only be carried out using the Time-Sert thread repair system.

Information

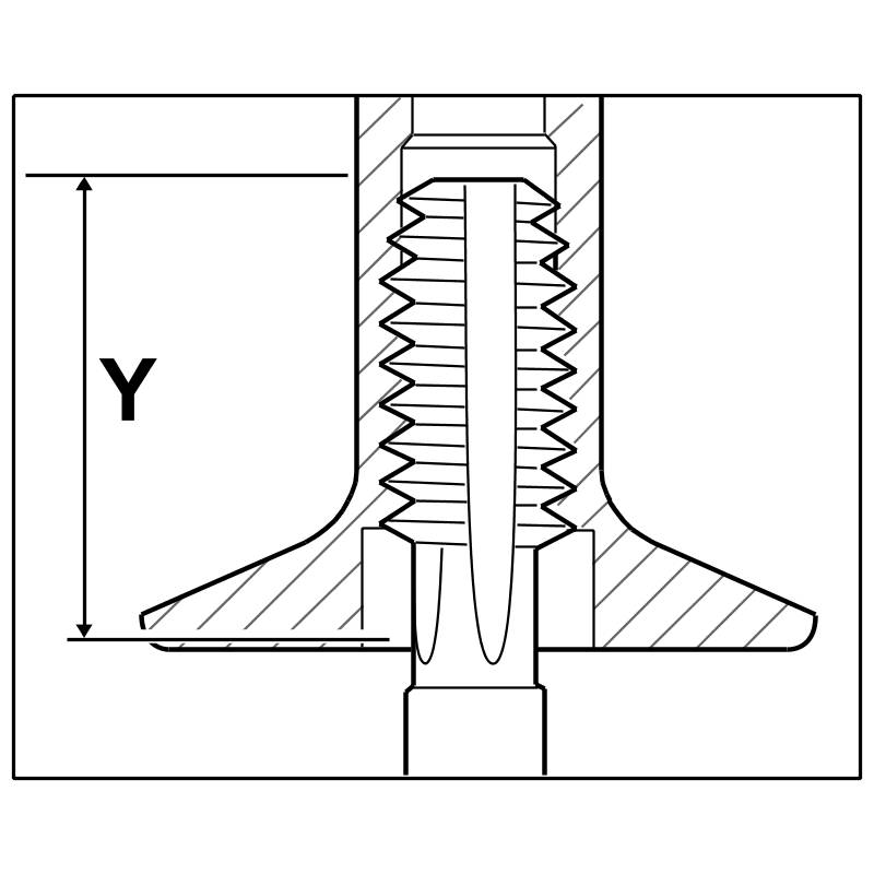
The repair bush must be installed recessed. Milling in may only be performed using the Porsche special tool contained in the Time-Sert thread repair kit.

Information

While pressing in the base thread, a noticeably larger amount of force is required on the screw-in tool to form the internal thread. Pressing is finished when the screw-in tool can be turned further more easily.

1. Drill out thread







Drilling out thread

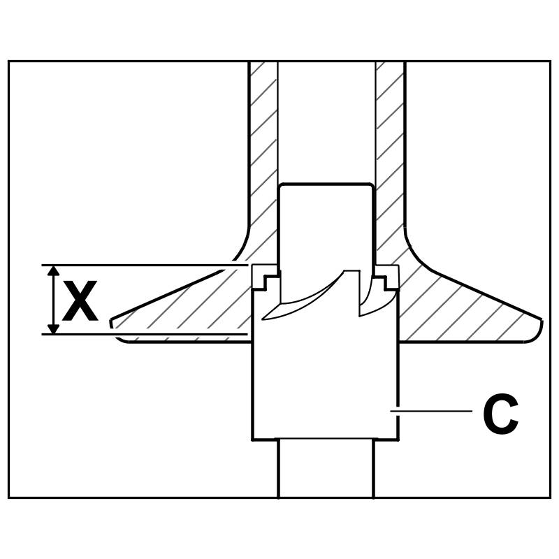
2. Mill in shoulder







Milling in shoulder

3. Cut thread






Cutting thread

4. Position threaded bush on the screw-in tool.







Positioning threaded bush on screw-in tool

5. Screw in threaded bush






Screwing in threaded bush

6. Press threaded bush






Pressing threaded bush

7. Unscrew screw-in tool


Table classification for suspension subframe repairs