Curiosii for ever!: Car repair manuals for everyone.

Notes on Troubleshooting


Notes on troubleshooting

Working on oxygen sensor

NOTE: Oxygen sensors used for DME 7.1.1







The LSU (universal oxygen sensor) can determine the oxygen value in a wide range.

The LSF (flat oxygen sensor) can only determine oxygen values greater or less than 1 (the rich-lean jump).







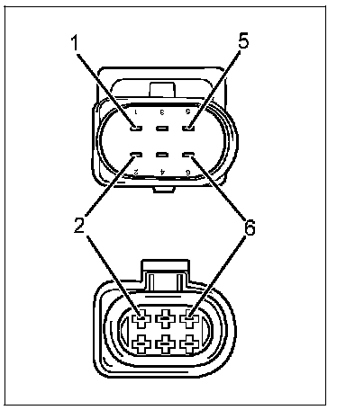
Oxygen sensor ahead of catalytic converter (LSU) has a 6 - pole connector







Oxygen sensor after catalytic converter (LSF) has a 4-pole connector

NOTE:
- Do not confuse oxygen sensor ahead of catalytic converter and oxygen sensor after catalytic converter as this will cause implausible fault entries. This note refers to the possibility of mistakenly installing a sensor intended for installation in front of the catalytic converter at the installation position for the sensor behind the catalytic converter in the exhaust system. The plugs themselves are coded and cannot be swapped.
- Do not use contact spray on the oxygen sensor plug connections as this may cause irreparable damage to the wiring (contamination of the oxygen sensor via the reference air channel).