Curiosii for ever!: Car repair manuals for everyone.

Optical Fiber (LWL) - MOST Bus/Plug Connection



Plug Connection

Dust boots

Dust boot for optical contacts:
- If a LWL is stored, transported, or installed in a vehicle, then the dust boot must only be removed right before the LWL is used in the connector.
- When testing the LWL, the dust boot must be put back on.

The dust boots can be removed without the use of a locking mechanism.

- Do not touch the exposed contact surfaces while or after removing the dust boot, as otherwise the optical contact could become damaged or dirty.

Dust boot for connector (wiring harness side):







If a preassembled wiring harness is installed, there is a dust boot on the connector for the LWL.

The dust boots can be removed by activating the locking mechanism "arrow".

- When testing the LWL, the dust boot must be put back on.
- Do not touch the exposed contact surfaces while or after removing the dust boot, otherwise the optical contact could become damaged or dirty.

Control unit plug connector (wiring harness side)
The LWL is delivered with affixed plastic contacts. These contacts are latched in the connector housing in the case of repairs. Grey and black contacts with identical mechanical dimensions are used.

Grey contacts are used in the junction wiring harness >> control unit (optical input).

Black contacts are used in the junction control unit >> wiring harness.

Joints

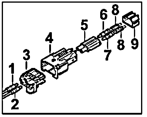
Structure of a LWL joint:







- "1" Optical contact, black
- "2" Optical contact, grey
- "3" Joint connector side
- "4" Joint socket side
- "5" Socket side LWL module
- "6" Optical contact, grey
- "7" Optical contact, black
- "8" Springs
- "9" Spring cap