Curiosii for ever!: Car repair manuals for everyone.

Connector Assignment - Transverse Lock Control Unit

Connector assignment - transverse lock control unit

Plug '47-pin'









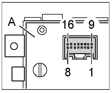
Gear selection switch connector assignment (running gear control module), '16-pin'

A - Plug connection for 'gear selection switch (running gear control module)' (at underside of housing)