Curiosii for ever!: Car repair manuals for everyone.

Notes on Fault Memory / Troubleshooting




Notes on fault memory/troubleshooting

The ABS MIL or TC MIL can light up although no fault is stored in the fault memory. The following faults are possible in this case:
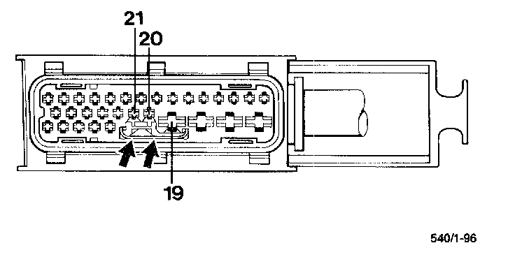
- Mechanical switching contacts (arrows) in the control module connector bent. As a consequence, these contacts are permanently connected to ground (ground of PIN 19 connected to PIN 20 and PIN 21).

Explanation: Normally, these contacts are grounded only when the connector is pulled off. This causes the ABS MIL or the TC MIL to be activated when the engine is running.







- When the engine is running, the "terminal 61" signal is missing at the control module. This can be checked with the Porsche System Tester 2 via the Input signals menu. Input Signals (Switching Element Diagnosis)

Work after fault elimination
The fault memory must be erased after a fault occurs in the anti-lock brake system and is eliminated.

Then perform a short test drive and perform a TC control operation, taking the road conditions into consideration. Then read out the fault memory again.

Fill/bleed the system after the hydraulic unit has been replaced or removed and reinstalled.

Then perform a system test. System Test