Curiosii for ever!: Car repair manuals for everyone.

Information Bus: Application and ID



Optical Waveguide - MOST Bus

Tools







INFORMATION: The optical waveguide will be used as from model year 2003.

Specifications on handling the optical waveguide
The plug connections must not be connected or disconnected with tools.

The optical waveguide and the plug connections must not be brought into contact with liquids such as water, leakage fluids, preservers, anti-freeze fluids or cleaning agents. This may impair the function of the MOST system or even complete system failures. Even plug connectors with connected protective caps must not be brought into contact with the listed liquids.

If the optical contacts, plug connectors or bushings are not connected or the connectors are not equipped with protective caps, all contact with dust and other materials (lubricants) must be avoided.

The optical contacts, plug connectors or bushings must not be cleaned.

Storage, packaging, transport
The optical waveguides must not be stored in the open air.

The optical waveguides must be protected from direct sunlight when stored.

The optical waveguides must not be exposed to high levels of air humidity when stored. Recommended storage conditions: Temperature - between -20 degrees C and +40 degrees C, air humidity - between 40% and 60%.

The optical waveguides must be stored in cardboard boxes or plastic bags.

No forces may be exerted on the stored optical waveguides which could deform or damage them.

The optical waveguides may only be stored with connected dust protective caps.

During storage, the bending radius of 30 mm must always be maintained.

Optical waveguides with damaged surfaces must be replaced.

Installing optical waveguides in the vehicle
The limit values listed below must not be exceeded when installing an optical waveguide in the vehicle:

Maximum permissible tensile load: 60 N

Minimum bending radius after and during installation in vehicle: 25 mm

Maximum number of torsions: 10 torsions per m

The following points must be observed when installing optical waveguides and wiring harnesses containing optical waveguides:
Damaged optical waveguides must not be installed.

Before installing the optical waveguide or the wiring harness with optical waveguide into the vehicle, you must check whether the protective dust caps have been attached properly. If this is not the case, the optical waveguide set must not be installed.

After and during installation of the optical waveguide into the vehicle, the minimum bending radius of 25 mm must be maintained.

During installation of the optical waveguide into the vehicle, the optical guide must not be pulled to set the length of the wiring harness (max. tensile load 60 N) and the optical guide must not be twisted or coiled up.

After installation of the optical waveguide into the vehicle, twisted optical guides must be straightened.

Lateral forces on the optical waveguides must always be avoided during installation of the optical waveguide into the vehicle.

Repairs
Defective optical guides must be replaced. Repairs for optical waveguides are not planned.

When replacing optical waveguides, the optical contacts must be removed form the plug connectors.

Plug connectors

Protective dust caps

Protective dust cap for optical contacts:
If an optical waveguide is stored, transported or installed in a vehicle, the protective dust cap most only be removed immediately before use in the plug.

The protective dust cap must be replaced after every test of an optical waveguide.

The protective dust caps can be removed without actuating a lock.

During or after removal of the protective dust cap, do not touch the exposed contact surfaces, because otherwise the optical contacts may be damaged or soiled.

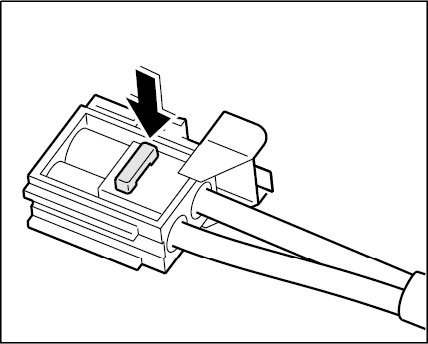
Protective dust cap for plug (wiring harness side):
If a ready-made wiring harness is installed, protective dust caps are already present on the plug for the optical waveguide.







By actuating the lock -arrow-, the protective dust cap can be pulled off.

The protective dust cap must be replaced after every test of an optical waveguide.

During or after removal of the protective dust cap, do not touch the exposed contact surfaces, because otherwise the optical contacts may be damaged or soiled.

Control module plug connector (wiring harness side)
The optical waveguide is delivered with plastic contacts affixed. In case of repairs, these contacts are engaged in the connector housing. Grey and black contacts with identical mechanical dimensions are used.

Grey contacts are used for the transfer wiring harness >> control module (optical input).

Black contacts are used for the transfer control module >> wiring harness.

Connectors

Structure of an optical waveguide connector:







Removing and installing optical contacts












Remove PCM.










Remove cover for brake booster.







Remove CD changer.

Remove passenger's seat.

Remove holder for control module for telephone.

Removing optical contacts on plug side







1. Open the secondary lock with the press-out tool. Insert the tool in the appropriate opening and raise the lock. The lock then engages in the upper setting.







2. Position tool at the primary lock and raise the lock.
3. Pull carefully on the optical waveguide, e.g. -B- in the -direction of the arrow-. If it is not possible to pull out the optical waveguide, check again whether the secondary lock has been completely unlocked and whether the primary lock has been raised far enough.

Conduct a visual check of the locks, the connector housing and the contacts for any possible damage and, if necessary, replace the damaged parts.

Installing optical contacts on plug side
Remove the protective dust cap immediately before the connection procedure.

Check that the contact is in proper condition.







1. Push optical contact -B- into the plug until it engages audibly.







2. Close the secondary lock -arrow- and check for proper seating of the optical contacts.

Removing optical contacts on bushing side







1. Unlock and remove the spring cap on both sides using the press-out tool.
2. Remove the optical waveguide module from the plug.







3. Position the unlocking tool at the contact lock of the optical waveguide module and raise the lock.
4. Pull carefully on the optical waveguide, e.g. -B- in the -direction of the arrow-. If it is not possible to pull out the optical waveguide, check again whether the lock has been completely unlocked.

Conduct a visual check of the locks, the connector housing and the contacts for any possible damage and, if necessary, replace the damaged parts.

Installing optical contacts on bushing side
Remove the protective dust cap immediately before the connection procedure.

Check that the contact is in proper condition.

Given a force of 10 N, the springs installed at the connector are pressed together. This leads to an increase in the absorption, which may lead to system impairments or even system failures. Therefore it is only permissible to pull the optical waveguide out of the connectors with a maximum force of 10 N.







1. Push the optical contacts -B- and -A- into the module until they engage perceptibly. Check for proper seating of the optical contacts.







2. Connect the module to the connector on the bushing side.
3. Push the spring cap on to the connector until it engages perceptibly -arrow-.

Optical waveguide modules
At least one transmitter diode and one receiver diode is installed in all MOST control modules. A transmitter diode of an MOST device is connected to the respective receiver diode of a second MOST device. A circuit is created, in which the light signal in every control module is refreshed (the light signal is converted to an electrical signal in every control module).

The graphic below shows the wiring of the individual MOST control modules which varies according to the particular equipment.







Tools