Curiosii for ever!: Car repair manuals for everyone.

Connector Assignment



Connector Assignment

Tiptronic Control Module Connector





Pin 1 - 28:




Pin 29 - 38:






Tiptronic Transmission Connectors

Transmission connector (wiring harness side)





Pin 1 - 13:






Connection X60 Rear/Transmission

Connection X60







NOTE: The connection X60 rear/transmission is located on the right-hand side of the transmission.


Connection X6O Connector

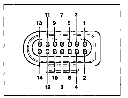
Connection X60 (control module side)





Pin 1 - 14: