Curiosii for ever!: Car repair manuals for everyone.

Information Bus: Application and ID



Optical Fiber (LWL) - MOST Bus

Tools







INFORMATION: Optical fiber (LWL) will be used as of model year 2003.

Requirements when working with LWL
The plug connections must not be plugged or separated with tools.

The LWL and the plug connections must not come into contact with fluids such as water, creeping compound, preservative, anti-freeze protection, cleaning agent. They will impair the MOST system functions or cause complete system failure. Even plug connectors with plugged-in protective caps must not come into contact with the fluids listed.

If the optical contacts, plug connections, or sockets are not plugged in, or if there are no protective caps installed on the plug, contact with dust and other solid materials (lubricants) must also be avoided.

The optical contacts, plug connectors, or sockets must not be cleaned.

Storage, Packing, Transport
The LWL must not be stored outside.

The LWL must be protected from direct sunlight during storage.

The LWL must be protected from high humidity during storage. Recommended storage conditions: Temperature between -20 degrees and +40 degrees, humidity - between 40% and 60%.

The LWL must be stored in a box made of cardboard, or in a plastic bag.

Force must not be applied to the stored LWL which could deform or damage it.

The LWL must be stored with the dust boot attached.

While storing, the bending radius must not be smaller than 30 mm.

LWL with damaged surfaces must be replaced.

Installing the LWL in the vehicle

The following limit values listed must not be exceeded when installing a LWL in the vehicle.
Maximum permissible tensile load: 60 N (45 ftlb.)

Minimum bending radius after and during installation in the vehicle: 25 mm

Maximum number of torsions: 10 torsions per m

The following points must be observed when fitting the LWL and fitting wiring harnesses containing LWL:
Damaged LWL must not be installed.

Before installing the LWL or wiring harness with LWL in the vehicle, it must be checked if the dust boots have been attached properly. If this is not the case, the LWL set must not be installed.

After and during the installation of LWL in the vehicle, the bending radius must not be smaller than 25 mm.

While the LWL is being installed in the vehicle, the LWL must not be pulled on to set the length of the wiring harness (max. tensile load 60 N (45 ftlb.)) nor may the LWL be twisted or wound up.

After installing the LWL in the vehicle, the twisted LWL must be straightened out.

External forces on the LWL are to be avoided when installing the LWL in the vehicle.

Repair
The defective LWL must be replaced. The LWL will not be repaired.

When exchanging the LWL, the optical contacts from the plug connection must be removed.

Plug connection

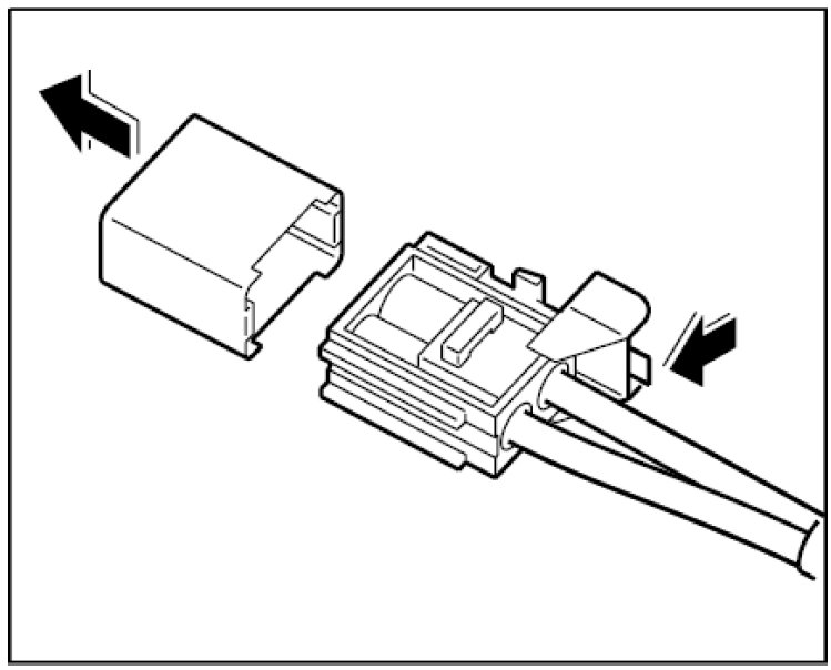
Dust boots

Dust boot for optical contacts:
If a LWL is stored, transported, or installed in a vehicle, then the dust boot must only be removed right before the LWL is used in the connector.

When testing the LWL, the dust boot must be put back on.

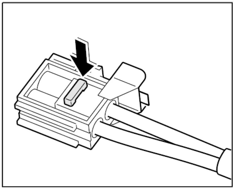
The dust boots can be removed without the use of a locking mechanism.

Do not touch the exposed contact surfaces while or after removing the dust boot, as otherwise the optical contact could become damaged or dirty.

Dust boot for connector (wiring harness side):
If a preassembled wiring harness is installed, there is a dust boot on the connector for the LWL.







The dust boots can be removed by activating the locking mechanism -arrow-.

When testing the LWL, the dust boot must be put back on.

Do not touch the exposed contact surfaces while or after removing the dust boot, as otherwise the optical contact could become damaged or dirty.

Control unit plug connector (wiring harness side)
The LWL is delivered with affixed plastic contacts. These contacts are latched in the connector housing in the case of repairs. Grey and black contacts with identical mechanical dimensions are used.

Grey contacts are used in the junction wiring harness >> control unit (optical input).

Black contacts are used in the junction control unit >> wiring harness.

Joints

Structure of a LWL joint:







Removing and installing optical contacts










Remove PCM.










Remove cover for the brake booster.







Remove the CD changer.

Remove passenger's seat.

Removing control unit holder for telephone.

Removing and installing optical contacts on connector side







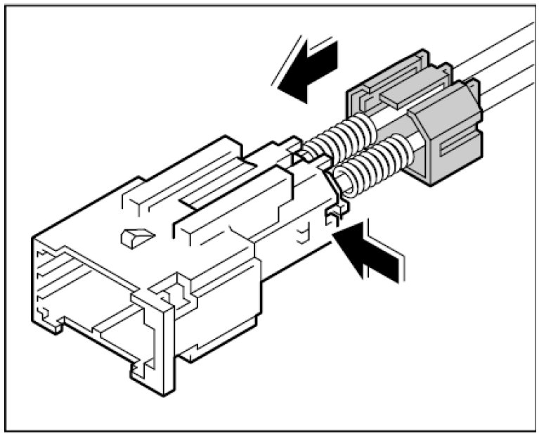
1. Open the secondary locking with the press-out tool. Insert the tool in the opening provided and lift the locking. The locking engages in the upper position.







2. Place the tool on the primary locking and lift the locking.
3. Pull LWL, e.g., -B- carefully in the -direction of the arrow-. If it is not possible to pull out the LWL, check again if the secondary locking is completely released and if the primary locking is raised sufficiently.

Visual inspection of lockings, connector housing, and contacts for possible damage and if necessary, exchange the damaged parts.

Installing optical contacts on connector side
Remove the dust boot right before plugging.

Check the proper condition of the contact.







1. Insert the optical contact -B- in the connector until it engages audibly.







2. Lock the secondary locking -arrow- and check the optical contacts for tightness.

Removing and installing optical contacts on socket side







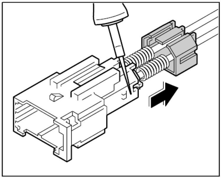
1. Release the spring cap on both sides and remove using the press-out tool.
2. Remove LWL module from the connector.







3. Place the tool for releasing the contact locking of the LWL module and lift the locking.
4. Pull LWL, e.g., -B- carefully in the -direction of the arrow-. If it is not possible to pull out the LWL, check again if the locking is completely released.

Visual inspection of lockings, connector housing, and contacts for possible damage and if necessary, exchange the damaged parts.

Installing optical contacts on socket side
Remove the dust boot right before plugging.

Check the proper condition of the contact.

At a force of 10 N (7.5 ftlb.) the springs installed in the joint will be pressed together. This leads to an increase in attenuation, which could lead to system impairment and system failure. Therefore, a maximum of 10 N (7.5 ftlb.) can be used to pull the LWL from the joint.







1. Insert the optical contacts -B- and -A- in the module until it engages audibly. Check the optical contacts for tightness.







2. Insert the module in the joint on the socket side.
3. Slide the spring cap on the joint until it can be felt to engage -arrow-.

Optical fiber (LWL) - module
In all MOST control units, at least one sending diode and one receiver diode are installed. The sending diode of a MOST device is connected to a receiver diode of a 2nd MOST device. This results in a ring where the light signal is reinforced in each control unit (in each control unit, the light signal is transformed into an electrical signal).

The graphic clarifies the cabling of the individual MOST control units which vary according to their equipment.







Tools