Curiosii for ever!
: Car repair manuals for everyone.
Home
>>
Porsche
>>
2004
>>
911 Carrera 4 (996) F6-3.6L
>>
Repair and Diagnosis
>>
Accessories and Optional Equipment
>>
General Module
>>
Description and Operation
>>
PCM2/CDR23
>>
PCM2 MMI Control Module Function
>>
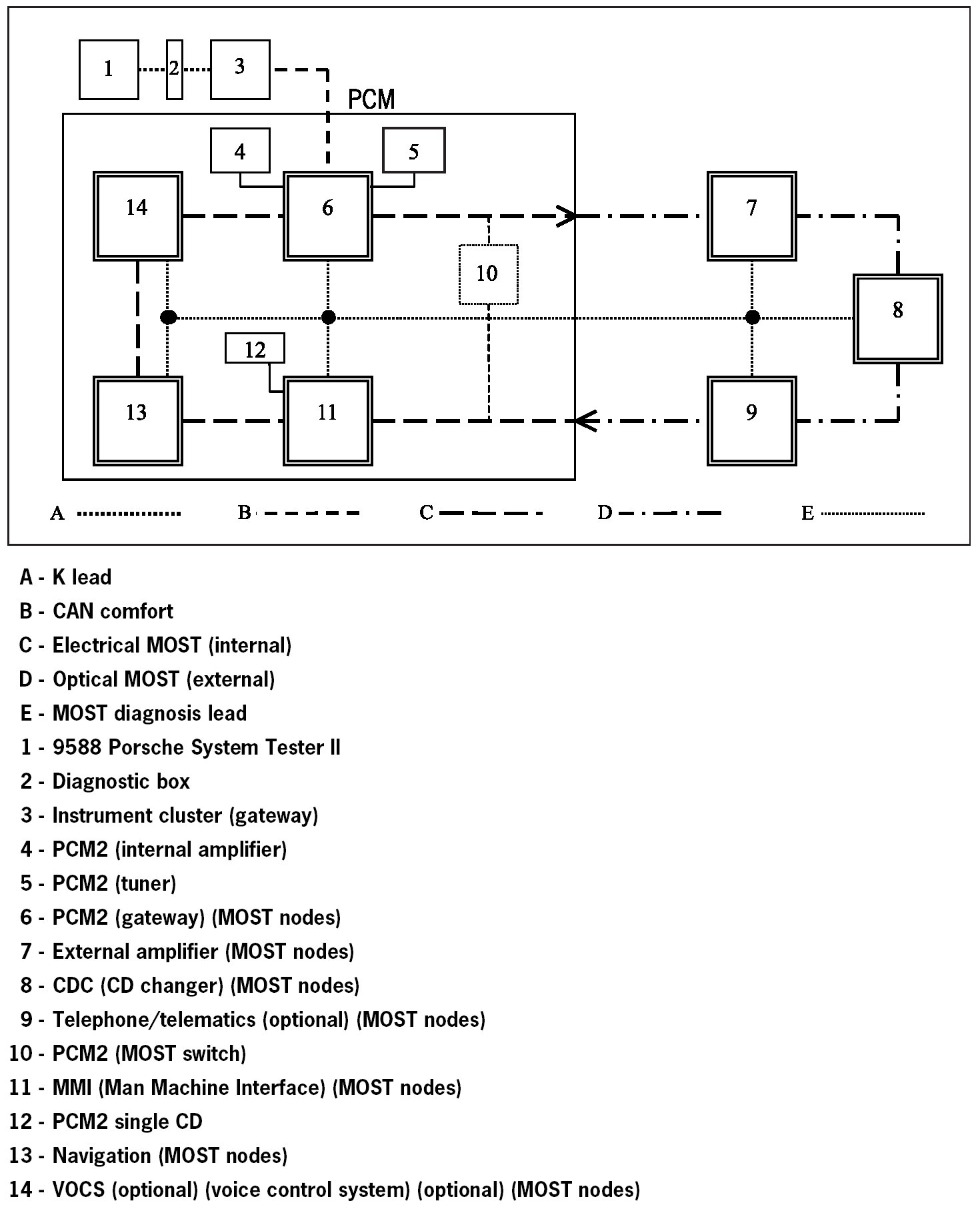
Function of the Components
Function of the Components
Function Of The Components: