Curiosii for ever!
: Car repair manuals for everyone.
Home
>>
Porsche
>>
2003
>>
Cayenne Turbo (9PA) V8-4.5L Turbo
>>
Repair and Diagnosis
>>
Specifications
>>
Mechanical Specifications
>>
Cooling System
>>
System Specifications
>>
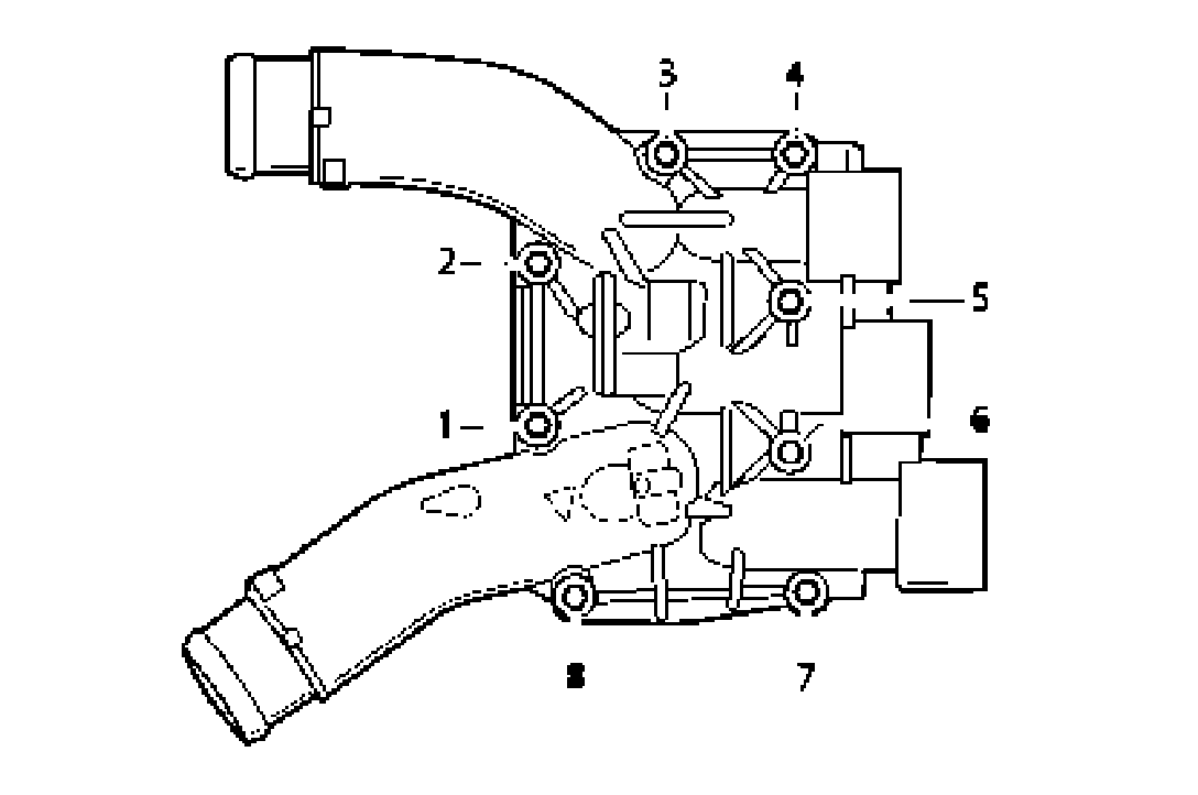
Tightening Torques
Tightening Torques
Group 19 - Cooling
Tightening sequences