Curiosii for ever!: Car repair manuals for everyone.

Antitheft and Alarm Systems



Connector Assignment

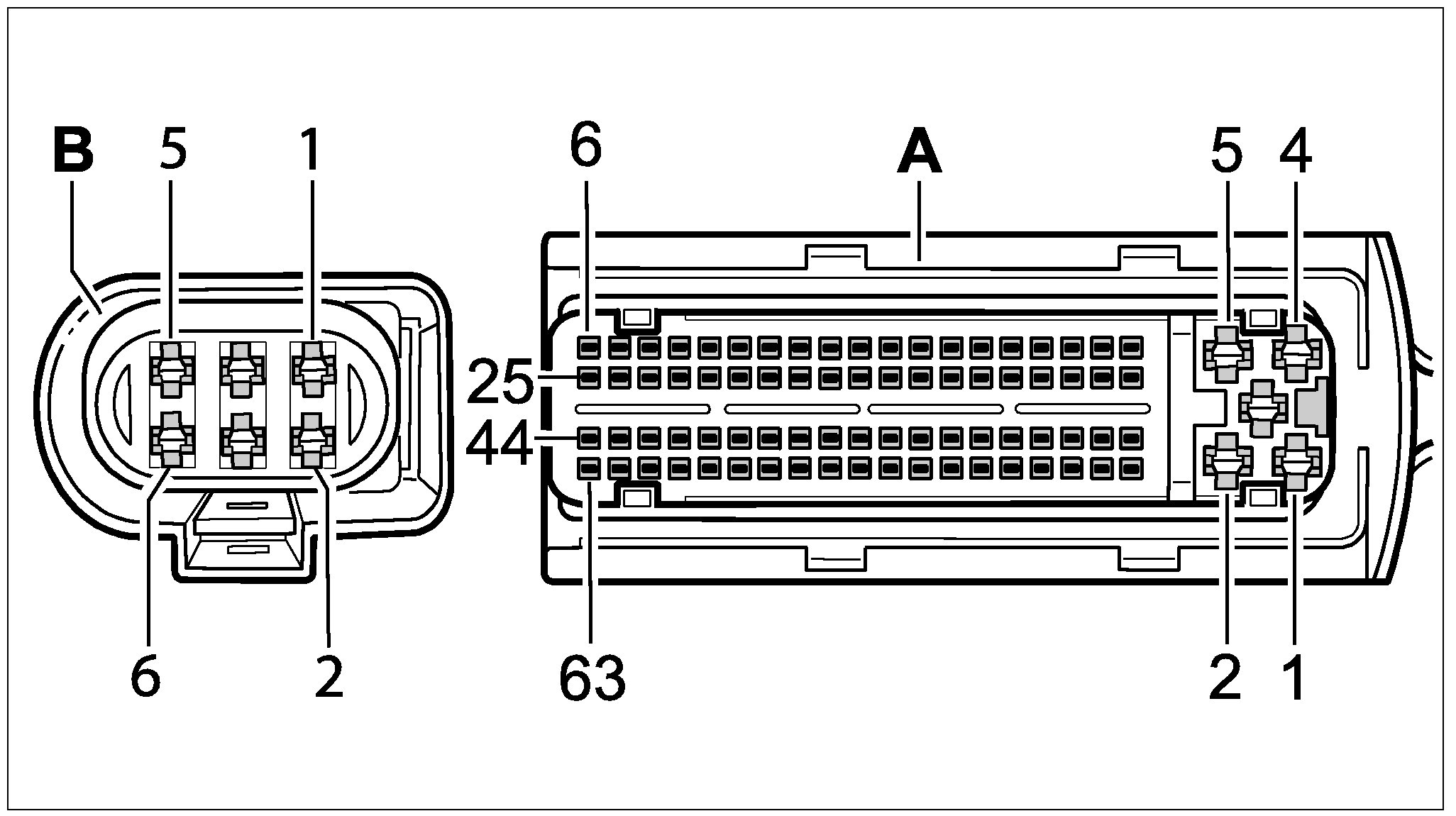
Plug A and plug B for KESSY control module







KESSY control module







Wiring harness plug A, 81-pin KESSY control module (incl. Keyless Entry & Drive functionalities)

KESSY control module










Wiring harness plug B, 6-pin KESSY control module (incl. Keyless Entry & Drive functionalities)

KESSY control module