Curiosii for ever!: Car repair manuals for everyone.

Function of the Components



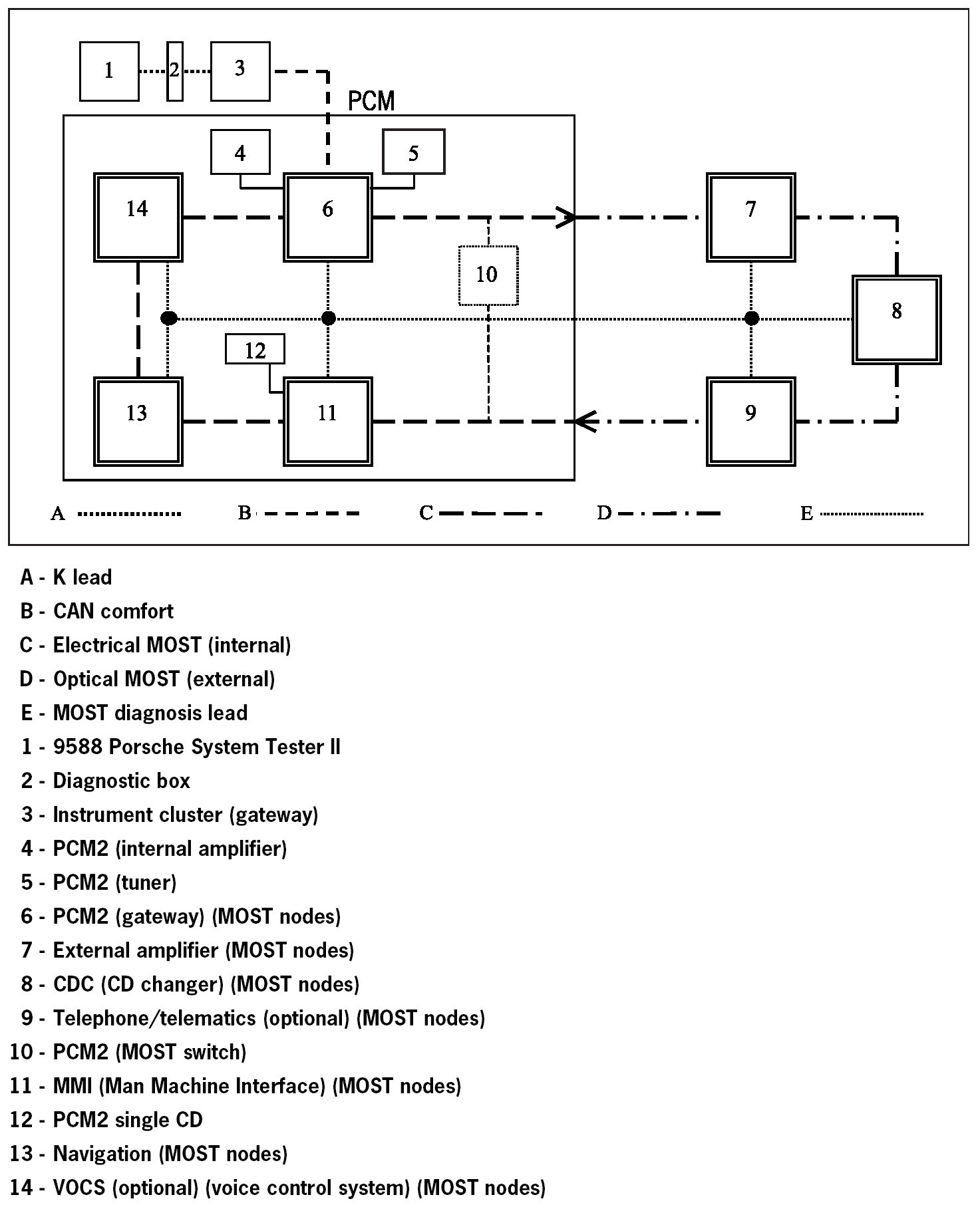
Function Of The Components


Function Of The Components:






NOTE:
- When the PCM2 is replaced, the coding must be performed in accordance with the connected MOST control modules.
- When the 'Switch closed' parameter is set, the switch remains closed even in existing MOST control modules. Communication is not possible.