Curiosii for ever!
: Car repair manuals for everyone.
Home
>>
Pontiac
>>
2010
>>
Vibe FWD L4-2.4L
>>
Repair and Diagnosis
>>
Relays and Modules
>>
Relays and Modules - Power and Ground Distribution
>>
Relay Box
>>
Application and ID
>>
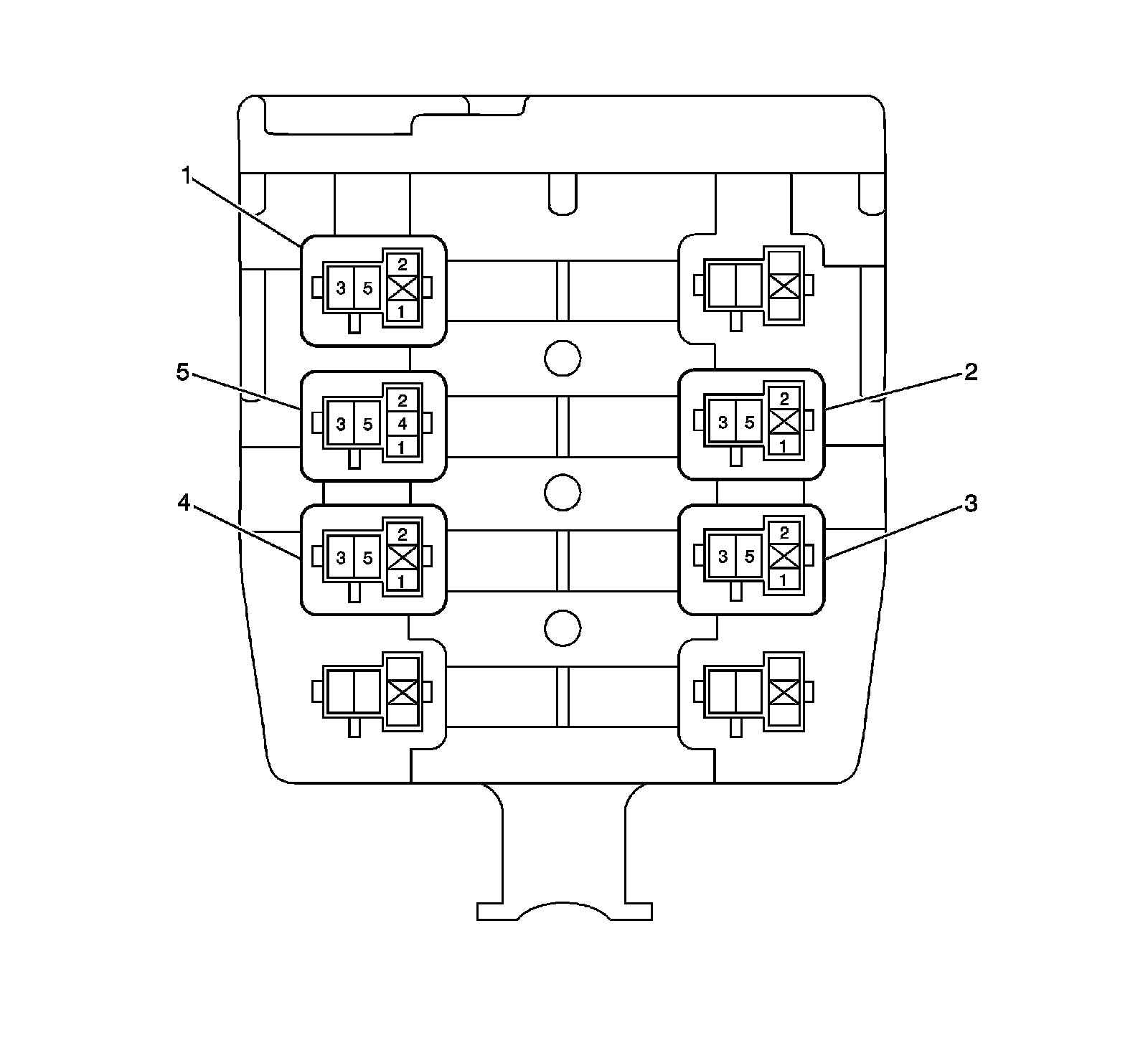
Relay Block - I/P
Relay Block - I/P
Electrical Center Identification Views
Relay Block - I/P Front View