Curiosii for ever!: Car repair manuals for everyone.

Communication Interface Module Replacement




Communication Interface Module Replacement

Removal Procedure





Note: The vehicle communication interface module (VCIM) has a specific set of unique numbers that tie the module to each vehicle. These numbers, the 10-digit station identification and the 11-digit electronic serial number, are used by the National Cellular Network and OnStar(R) to identify the specific vehicle. Because these numbers are tied to the vehicle identification number of the vehicle, you must never exchange these parts with those of another vehicle.

Warning: Refer to Battery Disconnect Warning (Service Precautions).

1. Disconnect the battery ground cable.
2. Remove the front seat. Refer to Front Seat Replacement - Bucket (Front Seat Replacement - Bucket).
3. Remove the two clips (1).
4. Disengage two guides (2) and remove the communication interface module cover (3).




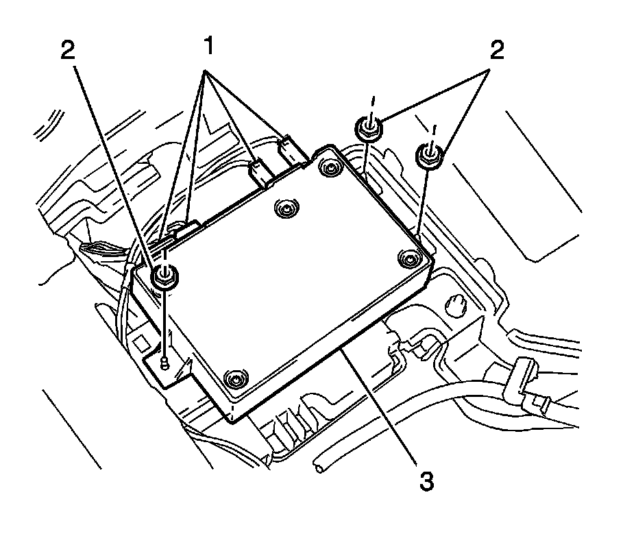
5. Disconnect vehicle communication interface module electrical connectors (1).
6. Remove the three nuts (2).
7. Remove the vehicle communication interface module from the vehicle.

Installation Procedure




1. Position the vehicle communication interface module (3) in the vehicle.

Caution: Refer to Fastener Caution (Fastener Caution).

2. Install the three nuts (2).

Tighten the nuts (2) to 7.5 Nm (66 lb in).

3. Connect vehicle communication interface module electrical connectors (1).




4. Engage two guides (2) and install the communication interface module cover (3).
5. Install the two clips (1).
6. Connect two vehicle communication interface module electrical connectors (1).
7. Install the front seat. Refer to Front Seat Replacement - Bucket (Front Seat Replacement - Bucket).
Warning: Refer to Battery Disconnect Warning (Service Precautions).

8. Connect the battery ground cable.

Note: If replacing the vehicle communication interface module, you must reconfigure the OnStar(R) system.

9. Reconfigure the OnStar(R) system. Refer to Control Module References (Programming and Relearning) for programming and setup information.