Curiosii for ever!: Car repair manuals for everyone.

Catalytic Converter: Service and Repair




Catalytic Converter Replacement (1.8L)

Removal Procedure

1. Remove heated oxygen sensor. Refer to Heated Oxygen Sensor Replacement - Sensor 2 (Heated Oxygen Sensor Replacement - Sensor 2)




2. Remove the 2 bolts (1, 2) and 2 compression springs from the front pipe assembly.




3. Remove the 2 bolts (1) and 2 compression springs (2) from the rear muffler assembly.
4. Remove the pipe assembly from the 2 exhaust pipe supports.

Installation Procedure





Note: If the free length is less than the minimum 41.5 mm (1.63 in), replace the compression spring.

1. Using a vernier caliper, measure the free length of the compression springs.




2. Fully insert a new gasket to the exhaust manifold.

Note: Be sure to install the gasket in the correct direction. Do not reuse the gasket.

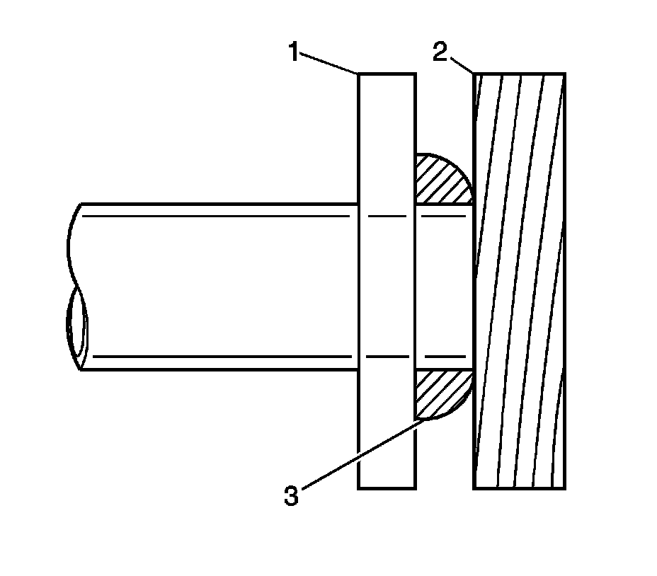
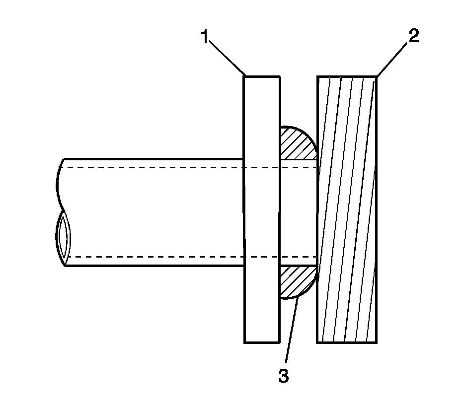
3. Using a plastic hammer and wooden block (2) , tap in the new gasket (3) until its surface is flush with the exhaust manifold.




4. Connect the front exhaust pipe assembly to the 2 exhaust pipe supports.

Caution: Refer to Fastener Caution (Fastener Caution).

Note: If the free length is less than the minimum 38.5 mm (1.52 in), replace the compression spring.

5. Install the front exhaust pipe assembly with the 2 bolts (1, 2) and 2 compression springs. Tighten the bolts to 43 Nm (32 lb ft).
6. Install heated oxygen sensor.




7. Using a vernier caliper, measure the free length of the compression springs.




8. Fully insert a new gasket to the front exhaust pipe assembly.

Note: Be sure to install the gasket in the correct direction.

9. Using a plastic hammer and wooden block (2), tap in the new gasket (3) until its surface is flush with the front exhaust pipe assembly (1).




10. Install the tail exhaust pipe assembly with the 2 bolts (1) and 2 compression springs (2). Tighten the bolts to 43 Nm (32 lb ft).
11. Inspect for exhaust gas leak.