Curiosii for ever!: Car repair manuals for everyone.

Catalytic Converter: Service and Repair




Catalytic Converter Replacement (2.4L AWD)

Removal Procedure

1. Remove the heated oxygen sensor. Refer to Heated Oxygen Sensor Replacement - Sensor 2 (Heated Oxygen Sensor Replacement - Sensor 2).




2. Remove the 2 bolts (1) from the front exhaust pipe.




3. Remove the two bolts (1) and springs (2) from the muffler assembly.
4. Remove the center exhaust pipe assembly from the 3 exhaust pipe supports.
5. Remove the gasket from the front exhaust pipe assembly.

Installation Procedure




1. Install a new gasket to the front exhaust pipe assembly.
2. Connect the center exhaust pipe assembly to the 3 exhaust pipe supports.

Caution: Refer to Fastener Caution (Fastener Caution).

3. Install the center exhaust pipe assembly with the 2 bolts (1, 2).

Tighten the center exhaust pipe bolts to 43 Nm (32 lb ft).





Note: If the free length is less than the minimum 38.5 mm (1.52 in), replace the compression spring.

4. Using a vernier caliper, measure the free length of the compression springs.
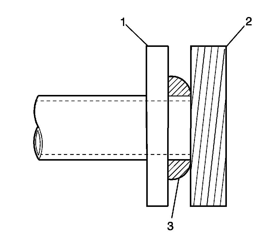
5. Fully insert a new gasket to the center exhaust pipe assembly.





Note: Be sure to install the gasket in the correct direction. Do not reuse the gasket.

6. Using a plastic hammer and wooden block (2), tap in the new gasket (3) until its surface is flush with the center exhaust pipe assembly (1).




7. Install the muffler assembly with the 2 bolts (1) and 2 compression springs (2).

Tighten the tail exhaust pipe bolts to 43 Nm (32 lb ft).

8. Install the heated oxygen sensor. Refer to Heated Oxygen Sensor Replacement - Sensor 2 (Heated Oxygen Sensor Replacement - Sensor 2).
9. Inspect for exhaust gas leaks.