Curiosii for ever!: Car repair manuals for everyone.

Vehicle Lifting: Service and Repair




Lifting and Jacking the Vehicle

Danger: To avoid any vehicle damage, serious personal injury or death when major components are removed from the vehicle and the vehicle is supported by a hoist, support the vehicle with jack stands at the opposite end from which the components are being removed and strap the vehicle to the hoist.


Caution: Perform the following steps before beginning any vehicle lifting or jacking procedure:

* Remove or secure all of the vehicle's contents in order to avoid any shifting or any movement that may occur during the vehicle lifting or jacking procedure.
* The lifting equipment or the jacking equipment weight rating must meet or exceed the weight of the vehicle and any vehicle contents.
* The lifting equipment or the jacking equipment must meet the operational standards of the lifting equipment or jacking equipment's manufacturer.
* Perform the vehicle lifting or jacking procedure on a clean, hard, dry, level surface.
* Perform the vehicle lifting or jacking procedure only at the identified lift points. DO NOT allow the lifting equipment or jacking equipment to contact any other vehicle components.

Failure to perform the previous steps could result in damage to the lifting equipment or the jacking equipment, the vehicle, and/or the vehicle's contents.

Caution: When you are jacking or lifting a vehicle at the frame side rails or other prescribed lift points, be certain that the lift pads do not contact the catalytic converter, the brake pipes or the fuel lines. If such contact occurs, vehicle damage or unsatisfactory vehicle performance may result.

Note: The use of a LOW PROFILE LIFT ARMS SYSTEM may be necessary in order to avoid unwanted contact with the vehicle body. Refer to the lifting equipment manufacturer's recommendations.

Swing Arm Type Lift




1 - Center of Gravity
2 - Front Hoist Pads
3 - Rear Hoist Pads

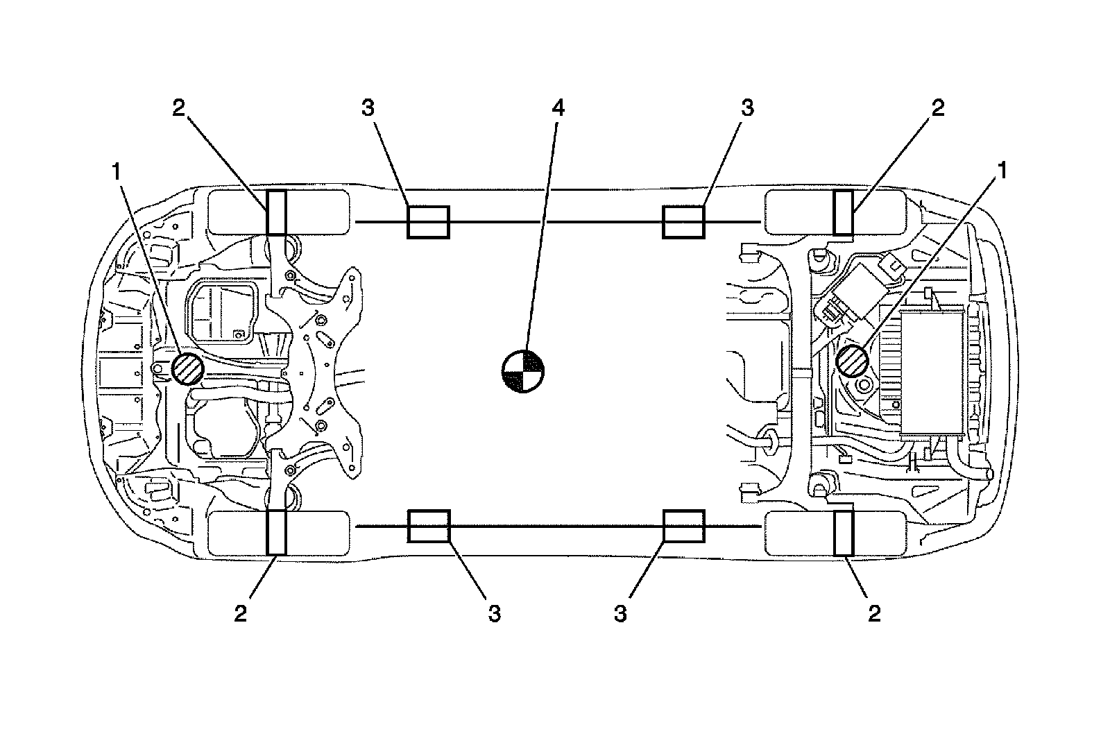
Vehicle Lifting and Jacking Locations - All Wheel Drive Model




1 - Floor Jack Lifting Locations
2 - Suspension Contact Hoist Lifting Locations
3 - Frame Contact Hoist Lifting Locations
4 - Vehicle Center of Gravity

Vehicle Lifting and Jacking Locations - GT Model




1 - Floor Jack Lifting Locations
2 - Suspension Contact Hoist Lifting Locations
3 - Frame Contact Hoist Lifting Locations
4 - Vehicle Center of Gravity

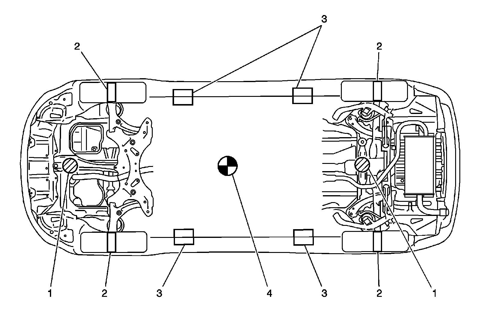
Vehicle Lifting and Jacking Locations - Except All Wheel Drive and GT Models




1 - Floor Jack Lifting Locations
2 - Suspension Contact Hoist Lifting Locations
3 - Frame Contact Hoist Lifting Locations
4 - Vehicle Center of Gravity

Frame Contact Hoist

Front of the Vehicle

Note: The front hoist pads must not contact the rocker panel trim, the front fenders, or the floor pan.

Position the frame contact hoist front pads as follows:

* Rearward of the front tires.
* Under front frame rail or under the rocker panel flange front side notch.
* With the long sides of the pads parallel to the frame rails.

Rear of the Vehicle

Note: The rear hoist pads must not contact the rocker panel trim, the rear fenders, the side doors, or the floor pan.

Position the frame contact hoist rear pads as follows:

* Forward of the rear tires.
* Under the rocker panel flange.
* With the long sides of the pads parallel to the frame rails.

Suspension Contact Hoist

Position the suspension contact hoist under the tire and wheel assemblies.

Floor Jack

Danger: To avoid any vehicle damage, serious personal injury or death, always use the jackstands to support the vehicle when lifting the vehicle with a jack.


Caution: When you are jacking the vehicle at the front locations, be certain that the jack or the jack lift pad does not contact the front fascia, front fascia air dam, or the front fenders. If such contact occurs, vehicle damage may result. When jacking at selected front locations additional clearance may be required for the jacking points.

When you are lifting a vehicle with a vehicle jack or a floor jack, block the wheels at the opposite end from which you are lifting. Use jack stands to provide additional support.

Front of the Vehicle

Position the floor jack pad under the transmission support front bolts.

Rear of the Vehicle

For the base model, position the floor jack pad under the rectangular jacking point rearward of the twist beam axle and forward of the rear muffler. For the GT model, position the floor jack pad under the rectangular jacking point forward of the rear muffler and between the rear lower control arm rear pivot bolts. For the AWD model, position the floor jack pad under the rear differential support.

Safety Jack Stands





Front of the vehicle.

Position the safety jack stands (1, 2) as follows:

* Rearward of the front tires.
* Under the frame rails or under the rocker panel flange front side notch.
* At the pantograph service jack lift points.

Rear of the Vehicle

Position the safety jack stands (1) as follows:

* Forward of the rear tires.
* Under the frame rails or under the rocker panel flange rear side notch.
* At the pantograph service jack lift points.