Curiosii for ever!
: Car repair manuals for everyone.
Home
>>
Pontiac
>>
2010
>>
G6 L4-2.4L
>>
Repair and Diagnosis
>>
Relays and Modules
>>
Relays and Modules - Body and Frame
>>
Sunroof / Moonroof Module
>>
Locations
>>
Harness Locations
>>
Sunroof Control Module Connector
Sunroof Control Module Connector
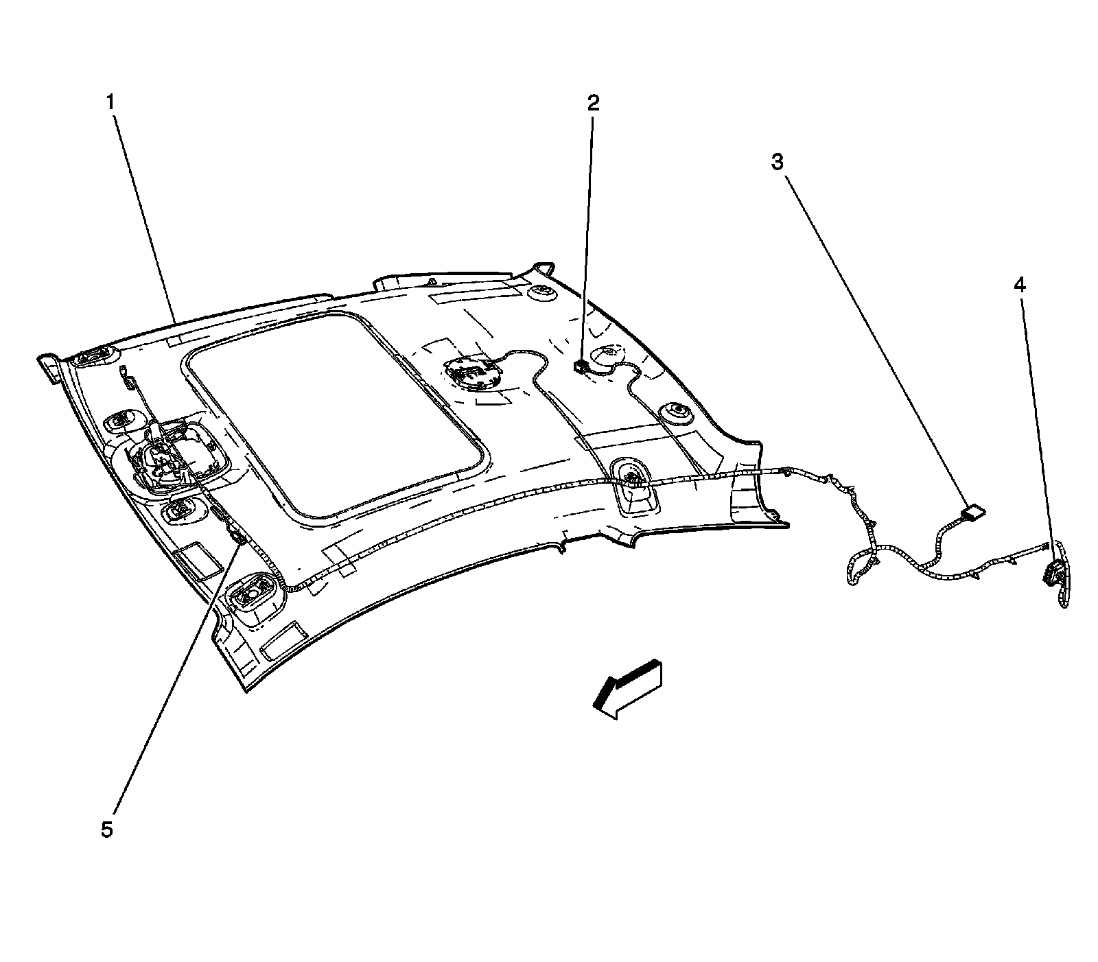
Harness Routing Views
Headliner Harness Routing (Coupe with CF5)
1
- Headliner
2
- Sunroof Control Module Connector
3
- X351 (UE1)
4
- Fuse Block - Rear (X3)
5
- Vanity Mirror Lamp - Left Connector (DH6)