Curiosii for ever!
: Car repair manuals for everyone.
Home
>>
Pontiac
>>
2010
>>
G6 L4-2.4L
>>
Repair and Diagnosis
>>
Relays and Modules
>>
Relays and Modules - Accessories and Optional Equipment
>>
Antenna Control Module
>>
Locations
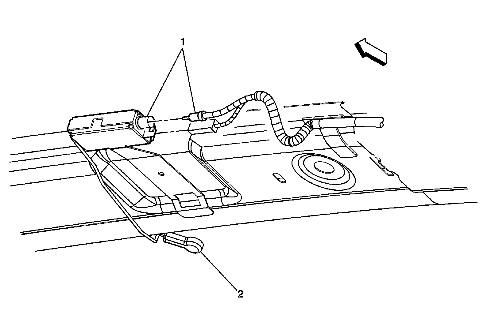
Antenna Control Module: Locations
Passenger Compartment/Roof Component Views
Rear of Roof Components (Coupe or Sedan)
1
- Radio Antenna Module
2
- Radio Antenna