Curiosii for ever!: Car repair manuals for everyone.

Brake Pedal Position Sensor Replacement




Brake Pedal Position Sensor Replacement

Removal Procedure

1. Remove the closeout panel. Refer to Instrument Panel Insulator Panel Replacement - Left Side Instrument Panel Insulator Panel Replacement - Left Side.
2. Remove the steering wheel stub shaft bolt and position the steering wheel stub shaft away from the steering column in order to gain access to the brake pedal adjustment position sensor. Refer to Intermediate Steering Shaft Replacement Intermediate Steering Shaft Replacement.
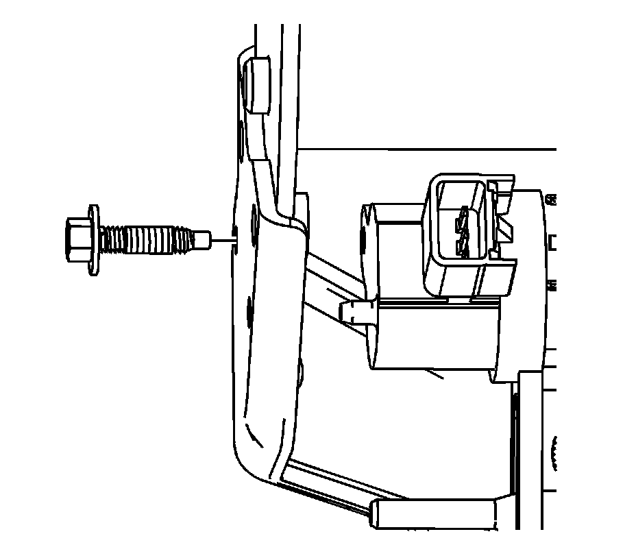
3. Remove the electrical connector from the brake pedal position sensor.




4. Remove the bolt from the position sensor, and remove the position sensor from the vehicle.

Installation Procedure





Caution: Refer to Fastener Caution Fastener Caution.

Note: Do not reuse the position sensor bolt. Always use a new bolt when installing a brake pedal position sensor.

1. Install the brake pedal position sensor and the bolt to the brake pedal bracket.

Tighten the bolt to 2 Nm (18 lb in).

2. Install the electrical connector to the position sensor.
3. Install the steering wheel stub shaft to the steering column. Refer to Intermediate Steering Shaft Replacement Intermediate Steering Shaft Replacement.
4. Install the closeout panel. Refer to Instrument Panel Insulator Panel Replacement - Left Side Instrument Panel Insulator Panel Replacement - Left Side.
5. Calibrate the position sensor. Refer to Brake Pedal Position Sensor Calibration Brake Pedal Position Sensor Calibration.