Front Fender Replacement (Hatchback)
Front Fender Replacement (Hatchback)
Removal Procedure
Caution: Refer to Vehicle Lifting and Jacking Caution (Service Precautions).
1. Raise and suitably support the vehicle.
2. Remove the front wheel. Refer to Tire and Wheel Removal and Installation (Service and Repair).
3. Remove the fender liner to mud guard bolts (2).
4. Remove the fender liner clips (1).
5. Remove the fender liner nuts (2) and screws (1).
6. Remove the fascia grille. Refer to Fascia Grille Replacement (Notchback) (Fascia Grille Replacement (Notchback))Fascia Grille Replacement (Hatchback) (Fascia Grille Replacement (Hatchback)).
7. Remove the front fascia. Refer to Front Bumper Fascia Replacement (Hatchback) (Front Bumper Fascia Replacement (Hatchback))Front Bumper Fascia Replacement (Notchback) (Front Bumper Fascia Replacement (Notchback)).
8. Remove the left side of the air inlet panel. Refer to Air Inlet Grille Panel Replacement (Service and Repair).
9. Remove the side marker lamps. Refer to Front Side Marker Lamp Replacement (Service and Repair).
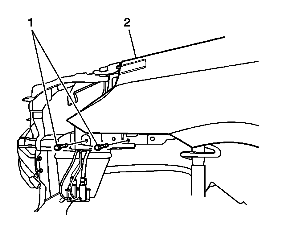
10. Remove the upper fender bolts (1).
11. Open the front door. Remove the bolt at the base of the windshield pillar (1).
12. Remove the bolt (1) at the base of the fender.
13. Remove the front fender bolts (1).
14. Remove the fender (2) from the vehicle.
Installation Procedure
1. Install the fender (2) to the vehicle.
Caution: Refer to Fastener Caution (Fastener Caution).
2. Install the front fender bolts (1) and tighten to 8 Nm (71 lb in).
3. Install the bolt (1) at the base of the fender and tighten to 8 Nm (71 lb in).
4. Install the bolt at the base of the Windshield Pillar (1) and tighten to 8 Nm (71 lb in).
5. Install the upper fender bolts (1) and tighten to 8 Nm (71 lb in).
6. Install the side marker lamps. Refer to Front Side Marker Lamp Replacement (Service and Repair).
7. Install the left side of the air inlet panel. Refer to Air Inlet Grille Panel Replacement (Service and Repair).
8. Install the front fascia. Refer to Front Bumper Fascia Replacement (Hatchback) (Front Bumper Fascia Replacement (Hatchback))Front Bumper Fascia Replacement (Notchback) (Front Bumper Fascia Replacement (Notchback)).
9. Install the fascia grille. Refer to Fascia Grille Replacement (Notchback) (Fascia Grille Replacement (Notchback))Fascia Grille Replacement (Hatchback) (Fascia Grille Replacement (Hatchback)).
10. Install the fender liner nuts (2) and screws (1).
Tighten the fender liner nuts to 13 Nm (113 lb in).
Tighten the fender liner bolts to 1.5 Nm (13 lb in).
11. Install the fender liner clips (1).
12. Install the fender liner to mud guard bolts (2) and tighten to 1.5 Nm (13 lb in.
13. Install the front wheel. Refer to Tire and Wheel Removal and Installation (Service and Repair).
14. Lower the vehicle.