Curiosii for ever!: Car repair manuals for everyone.

Map Light: Service and Repair




Reading Lamp Replacement

Removal Procedure

Warning: Refer to Battery Disconnect Warning (Battery Disconnect Warning).

1. Disconnect the battery ground cable. Refer to Battery Negative Cable Disconnection and Connection (Service and Repair).





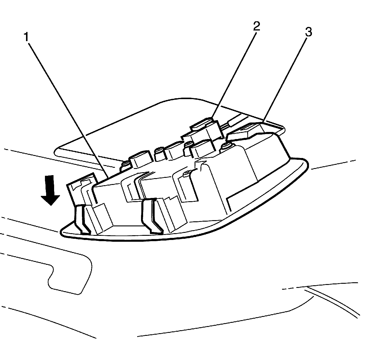
Note: The headliner can be easily damaged or discolored. Use care when working in the area of the headliner.

Note: Pivot the dome lamp assembly (1) away from the headliner and pull forward to clear the rear locking arms (3).

2. Using a suitable tool, gently pry the front of the dome lamp assembly (1) down and lower the front of the assembly.
3. Disconnect the wiring harness connector (2) from the rear dome lamp assembly (1) and remove the dome lamp assembly (1) from the vehicle.

Installation Procedure





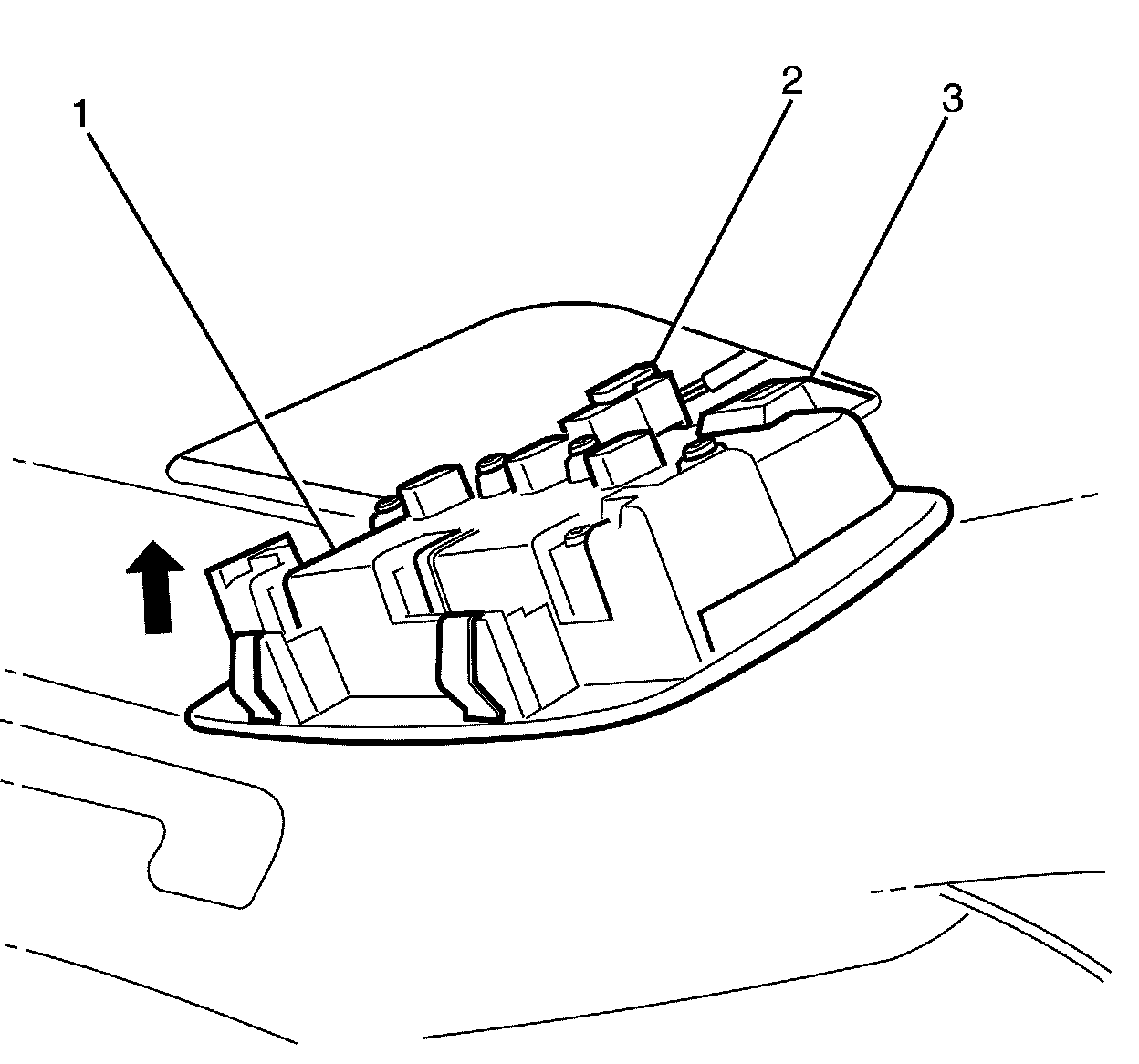
Note: The headliner can be easily damaged or discolored. Use care when working in the area of the headliner.

Note: Position the dome lamp assembly rear locking arms (3) into the headliner and pivot the front of the dome lamp assembly (1) up and into the headliner. Listen for an audible click to confirm correct fitment.

1. Connect the wiring harness connector (2) to the dome lamp assembly (1).
2. Install the dome lamp assembly (1) into the headliner.
3. Connect the battery ground cable. Refer to Battery Negative Cable Disconnection and Connection (Service and Repair).
4. Test the rear dome lamp for correct operation.