Curiosii for ever!
: Car repair manuals for everyone.
Home
>>
Pontiac
>>
2009
>>
G8 V8-6.2L
>>
Repair and Diagnosis
>>
Diagrams
>>
Connector Views
>>
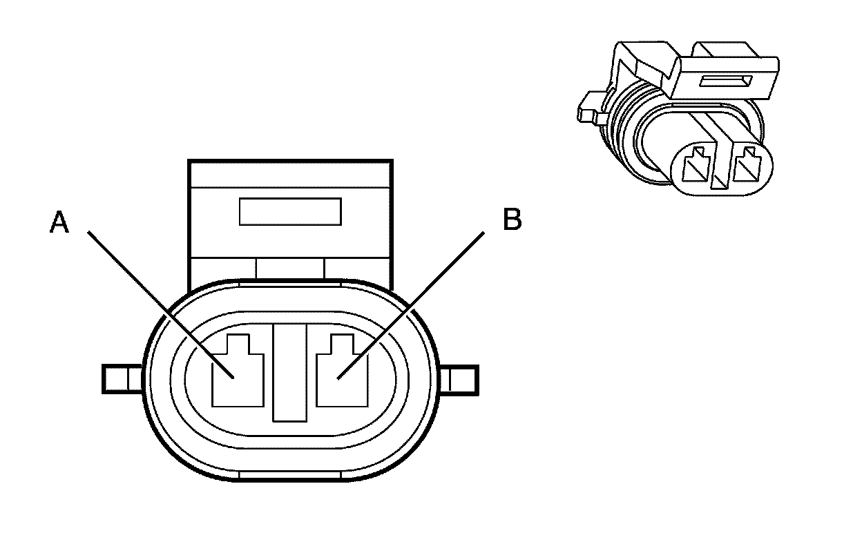
Ambient Temperature Sensor / Switch HVAC
Ambient Temperature Sensor / Switch HVAC
Component Connector End Views
Ambient Air Temperature Sensor