Curiosii for ever!: Car repair manuals for everyone.

Inside Rearview Mirror Replacement




Inside Rearview Mirror Replacement

Removal Procedure




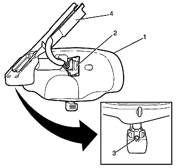
1. Detach the rearview mirror trim (4) from the headliner by gently sliding downward.
2. Disconnect the electrical connector (2) from the back of the rearview mirror (1).
3. Adjust the rearview mirror (1) to the full upright position.
4. At the rearview mirror assembly base, remove the rearview mirror assembly to windscreen retaining screw (3)





Note: Slide the rearview mirror assembly (1) upward to remove from the retaining plate (2).

5. Remove the rearview mirror assembly (1) from the vehicle.

Installation Procedure





Note: Position the center of the rearview mirror assembly (1) at the top of the retaining plate (2).

1. Install the rearview mirror assembly (1) to the vehicle.





Caution: Refer to Fastener Caution (Fastener Caution).

2. Install the rearview mirror assembly to windscreen retaining plate retaining screw (3) and tighten to 2 Nm (18 lb in).
3. Connect the electrical connector (2) to the mirror assembly (1).
4. Attach the rearview mirror trim (4) to the headliner by gently sliding upward.
5. Reposition the mirror assembly (1).
6. Calibrate the mirror compass. Refer to Control Module References (Programming and Relearning).