Curiosii for ever!: Car repair manuals for everyone.

Removal and Replacement




Windshield Replacement

Special Tools
* J-36020 Stationary Glass Removal Tool
* Glass Sealant Remover (Cold Knife)
* Urethane Adhesive Kit or Equivalent
* Isopropyl Alcohol, Prepsol or Equivalent
* Cartridge-type Caulking Gun
* Commercial-type Utility Knife
* Razor Blade Scraper
* Suction Cups

Removal Procedure

Warning

When working with any type of glass or sheet metal with exposed or rough edges, wear approved safety glasses and gloves in order to reduce the chance of personal injury.

Warning

If broken glass falls into the defroster outlets, it can be blown into the passenger compartment and cause personal injury.

Note: Before cutting out a stationary window, apply a double layer of masking tape around the perimeter of the painted surfaces and the interior trim.

1. Remove the windshield wiper arms. Refer to Windshield Wiper Arm Replacement (Service and Repair).
2. Remove the air inlet grille assembly. Refer to Air Inlet Grille Panel Replacement (Service and Repair).
3. Remove the interior windshield side garnish panels. Refer to Windshield Garnish Molding Replacement (Service and Repair).
4. Remove the internal rearview mirror. Refer to Inside Rearview Mirror Replacement (Inside Rearview Mirror Replacement).
5. Remove the exterior windshield garnish mouldings. Refer to Windshield Pillar Garnish Molding Replacement (Service and Repair).
6. Protect the following parts:

* The upper dash pad
* The defroster outlets and A/C outlets
* The seats and carpeting





Note: Use a suitable tool to install the piano wire from J-36020 (1) through the urethane at a upper corner of the windshield (2).

7. Install J-36020 (1) to the vehicle (3).
8. Connect the end of the piano wire to the other handle of the J-36020 (2).





Note: Keep the inside handle of J-36020 (1) against the windshield (2) and cycle the full length of the piano wire to prevent heat build up.

9. With the aid of an assistant cut through the urethane bead around the windshield (2) to the vehicle (3).





Note: The use of suction cups will aid in the windshield (1) removal from the vehicle (2).

10. With the aid of an assistant remove the windshield (1) from the vehicle (2).

Installation Procedure

Note: Remove all of the urethane from the pinch-weld surface by using a clean utility knife or razor blade scraper. Avoid the removal of paint when removing urethane.

1. Remove any urethane from the pinch-weld.

Warning

Failure to prep the area prior to the application of primer may cause insufficient bonding of urethane adhesive. Insufficient bonding of urethane adhesive may allow unrestrained occupants to be ejected from the vehicle resulting in personal injury.

Note: Use a lint free cloth and suitable oil free cleaning agent to make sure adhesion of the urethane.

2. Clean surface and edges of the windshield where urethane is to be applied.





Note: The clear glass primer dries almost instantly and may stain the viewing area of the windshield if not applied evenly. Wipe off the clear glass primer with a lint free cloth immediately after application.

Note: Apply the clear glass primer with a suitable applicator.

3. Apply a 50 mm wide layer of clear glass primer to the inner surface of the windshield perimeter.





Note: Agitate the black glass primer for 1 minute to mix thoroughly.

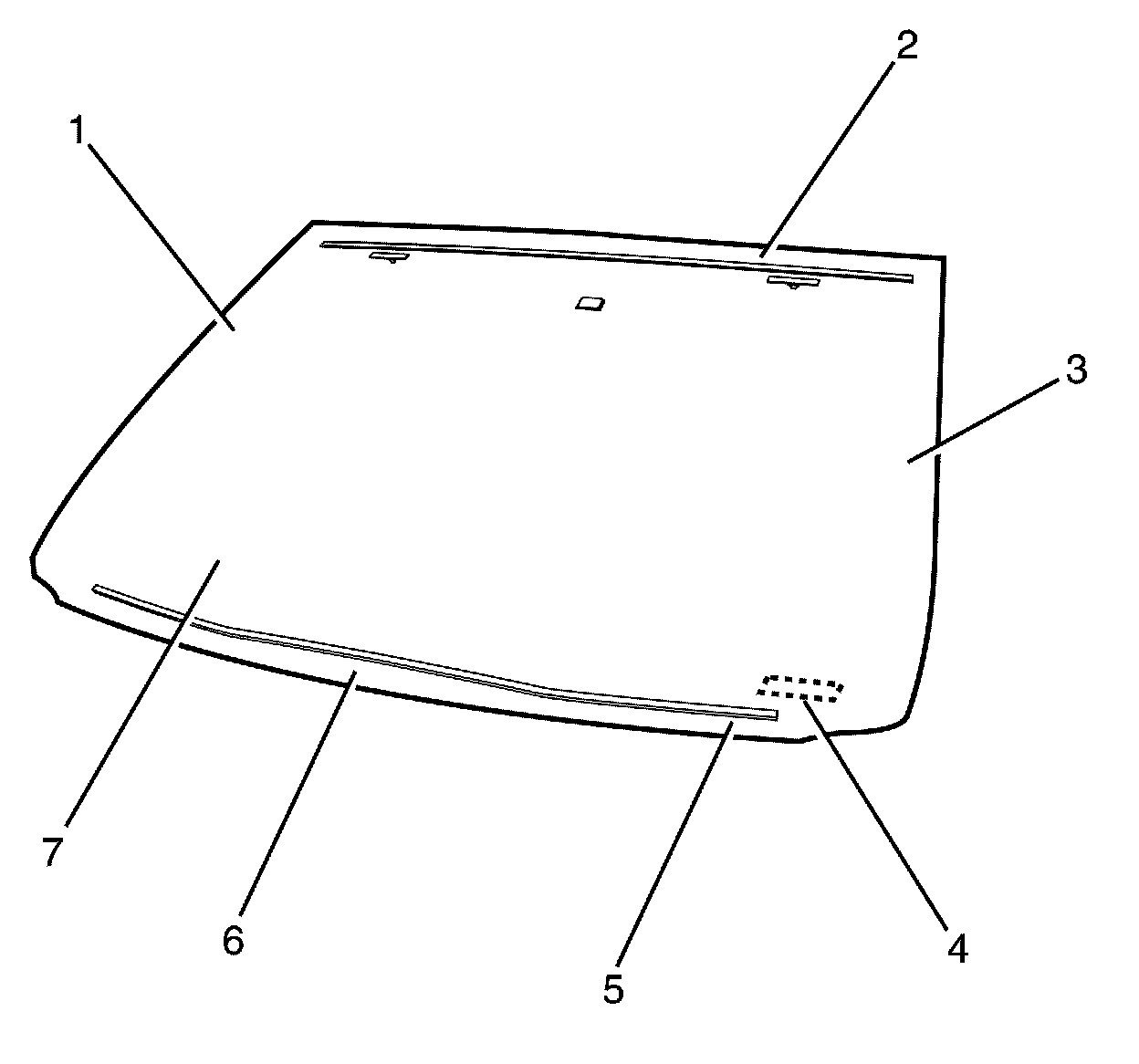
Note: Apply a 20 mm wide layer of black glass primer with a suitable applicator to the inner upper (2), left (3) and right (1) side surface of the windshield perimeter. Apply a 20 mm wide layer of black glass primer 20 mm from the lower edge (6) of the windshield and 15 mm from the lower edge (5) of the windshield where the VIN (4) is displayed.

4. Apply the black glass primer to the windshield (7).




Warning: Refer to Window Retention Warning (Window Retention Warning).


Note: Apply a 7 mm wide and 14 mm deep layer of urethane GMW3041 or equivalent to the inner upper (2), left (3) and right (1) side surface of the windshield perimeter. Apply a 7 mm wide and 14 mm deep layer of urethane 20 mm from the lower edge (6) of the windshield and 15 mm from the lower edge (5) of the windshield where the VIN (4) is displayed.

5. Apply the urethane GMW3041 or equivalent to the windshield (7).





Note: The windshield is aligned by two datum pins located at the top of the windshield and two 8 mm foam spacers one at the top and one at the bottom of the windshield (1).

Note: The use of suction cups will aid the installation of the windshield (1) to the vehicle (2).

6. With the aid of an assistant install the windshield (1) to the vehicle (2).
7. Press the windshield (1) firmly into position.
8. Install the air inlet grille assembly. Refer to Air Inlet Grille Panel Replacement (Service and Repair).
9. Install the windshield wiper arms. Refer to Windshield Wiper Arm Replacement (Service and Repair).
10. Install the interior windshield side garnish panels. Refer to Windshield Garnish Molding Replacement (Service and Repair).
11. Install the exterior windshield garnish mouldings. Refer to Windshield Pillar Garnish Molding Replacement (Service and Repair).
12. Remove the double layer of masking tape from around the perimeter of the painted surfaces and the interior trim.
13. Install the internal rearview mirror. Refer to Inside Rearview Mirror Replacement (Inside Rearview Mirror Replacement).