Curiosii for ever!: Car repair manuals for everyone.

Thermo Element Replacement




Thermo Element Replacement

Tools Required

J 34094-A Thermo Element Height Gage

Removal Procedure

1. Raise and support the vehicle. Refer to Lifting and Jacking the Vehicle (Service and Repair).
2. Remove the oil pan. Refer to Oil Pan Replacement (4T65-E - Automatic Transmission).




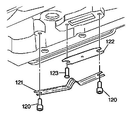
3. Remove the thermo element pins (120, 123) and the washers.
4. Remove the thermo element (121) and the thermo element plate (122).

Installation Procedure




1. Use the J 34094-A to set the middle thermo pin (123).
2. Install the new thermo element plate (122).
3. Install the pin (120) and the washer.
4. Use the J 34094-A to set the height of the pin and the washer furthest from the accumulator.
5. Use the J 34094-A to set the height of the second pin (120) and the washer.




6. Install the thermo element (121) between the 2 pins (120). The V in the thermo element (121) must contact the thermo element plate (122).

Important: It is recommended that transmission adaptive pressure (TAP) information be reset.


Resetting the TAP values using a scan tool will erase all learned values in all cells. As a result, The engine control module (ECM), powertrain control module (PCM) or transmission control module (TCM) will need to relearn TAP values. Transmission performance may be affected as new TAP values are learned. Reset the TAP values. Refer to Transmission Adaptive Functions (Transmission Adaptive Functions).


7. Install the oil pan. Refer to Oil Pan Replacement (4T65-E - Automatic Transmission).
8. Lower the vehicle.