Curiosii for ever!: Car repair manuals for everyone.

Engine: Diagrams




Disassembled Views

Cylinder Head and Components




201 - Exhaust Valve
202 - Intake Valve
203 - Timing Chain Guide Bolt Access Hole
204 - Cylinder Head
205 - Cylinder Head Gallery Plug
206 - Hydraulic Lash Adjuster
207 - Roller Finger Follower
208 - Cylinder Head Bolt
209 - Small Cylinder Head Bolt
210 - Valve Stem Seal
211 - Valve Spring
212 - Valve Spring Retainer
213 - Valve Keys
214 - Hydraulic Lash Adjuster
215 - Roller Finger Follower
216 - Intake Camshaft
219 - Camshaft Cap
220 - Exhaust Camshaft
221 - Camshaft Cap
222 - Camshaft Cap Bolt
300 - Coolant Air Bleed Fitting
413 - Engine Oil Fill Cap
507 - Fuel Injector Rotator Cup
508 - Fuel Injector O-ring
509 - Fuel Injector
510 - Fuel Injector O-ring
511 - Fuel Injector Clip
512 - Fuel Rail
513 - Camshaft Cover Gasket
514 - Camshaft Cover
515 - Camshaft Cover Bolt
707 - Front Lift Bracket Bolt
708 - Front Lift Bracket
709 - Rear Lift Bracket
710 - Rear Lift Bracket Bolt
713 - Fuel Injector Wiring Harness
717 - Spark Plug
718 - Camshaft Position Actuator Solenoid Valve - Exhaust
719 - Camshaft Position Actuator Solenoid Valve - Intake
720 - Camshaft Position Actuator Solenoid Valve Bolt
721 - Ignition Coil
724 - Ignition Coil Bolt
725 - Camshaft Position Sensor
726 - Camshaft Position Sensor Bolt
727 - Camshaft Position Sensor
728 - Camshaft Position Sensor Bolt

Intake Manifold and Components




408 - Oil Indicator Tube O-ring
409 - Oil Indicator Tube
410 - Oil Indicator Tube Bolt
411 - Oil Indicator O-ring
412 - Oil Indicator
500 - Intake Manifold Gasket
501 - Intake Manifold Bolt
502 - Intake Manifold
503 - Throttle Body Seal
504 - Throttle Body
506 - Throttle Body Bolt
711 - Map Sensor

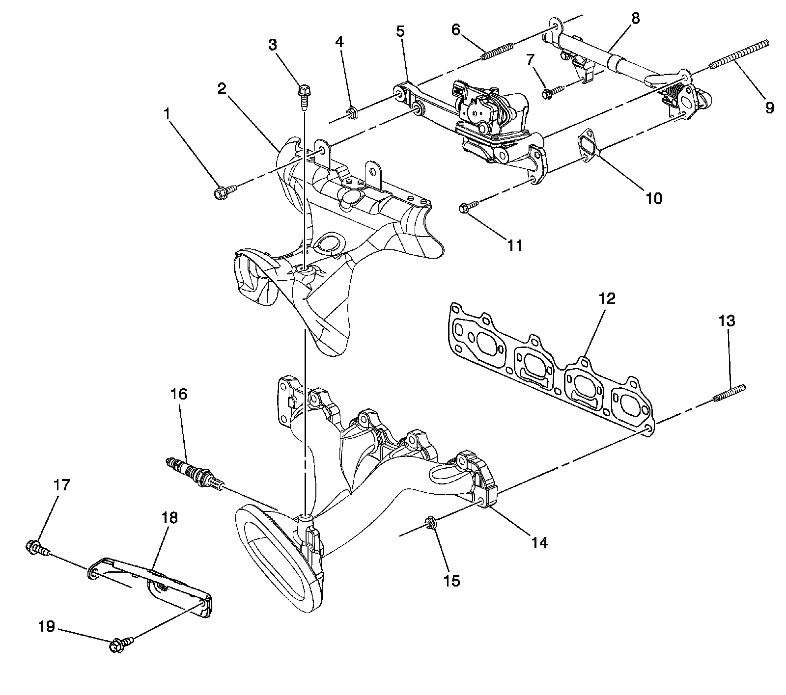
Exhaust Manifold and Components




1 - Exhaust Manifold Heat Shield Bolt
2 - Exhaust Manifold Heat Shield
3 - Exhaust Manifold Heat Shield Bolt
4 - Secondary Air Injection Assembly Nut
5 - Secondary Air Injection Assembly
6 - Secondary Air Injection Check Stud
7 - Secondary Air Injection Bolt
8 - Secondary Air Injection Pipe Assembly
9 - Secondary Air Injection Stud
10 - Secondary Air Injection Check Valve Gasket
11 - Secondary Air Injection Bolt
12 - Exhaust Manifold Gasket
13 - Exhaust Manifold Stud
14 - Exhaust Manifold
15 - Exhaust Manifold Nut
16 - Oxygen Sensor
17 - Exhaust Manifold Brace Bolt
18 - Exhaust Manifold Brace
19 - Exhaust Manifold Brace Bolt

Engine Block and Components




1 - Water Pump to Engine Block Seal
2 - Water Pump
3 - Water Transfer Pipe O-ring Seals
4 - Water Transfer Pipe
5 - Coolant Temperature Sensor
6 - Thermostat Housing to Block Gasket
7 - Thermostat Housing
8 - Thermostat
9 - Thermostat Gasket
10 - Thermostat Housing Cap Bolt
11 - Thermostat Housing Cap
12 - Water Pipe Support Bracket
13 - Water Pipe Support Bracket Bolt
14 - Water Pipe Support Bracket Bolt Stud
15 - Cylinder Head Gasket
16 - Piston Ring Assembly
17 - Piston Assembly
18 - Connecting Rod
19 - Connecting Rod Cap Bolt
20 - Connecting Rod Bearing
21 - Oil Filter Cap
22 - Oil Filter Cap O-ring
23 - Cylinder Head Alignment Pin
24 - Oil Filter
25 - Engine Block Gallery Plug
26 - Engine Block to Transaxle Alignment Pin
27 - Crankshaft Position Sensor
28 - Crankshaft Position Sensor Bolt
29 - Oil Pressure Switch
30 - Knock Sensor
31 - Crankshaft Bearing - Upper
32 - Crankshaft Rear Seal
33 - Flywheel - Automatic Transmission
34 - Manual Transaxle Flywheel
35 - Manual Transaxle Flywheel Bolt
36 - Automatic Transaxle Flywheel to Crankshaft Bolt
37 - Crankshaft
38 - Crankshaft Bearing - Lower
39 - Lower Crankcase
40 - Engine Oil Pan Alignment Pins
41 - Lower Crankcase Perimeter Bolt
42 - Engine Oil Pan
43 - Air Pump Assembly
44 - Air Pump Assembly Bolt
45 - Air Pump Assembly Bolt
46 - Engine Oil Pan Long Bolt
47 - Engine Oil Pan Bolt
48 - Engine Oil Pan Drain Plug
49 - Lower Crankcase Main Bearing Bolt
50 - Crankshaft Thrust Bearing - Lower
51 - Crankshaft Thrust Bearing - Upper
52 - Piston Oil Nozzle Assembly
53 - Engine Block
54 - Cylinder Bore Sleeve

Timing Chain and Components




123 - Balance Shaft Rear Bearing
124 - Exhaust Balance Shaft
125 - Intake Balance Shaft
126 - Exhaust Balance Shaft Bearing Carrier
127 - Intake Balance Shaft Bearing Carrier
128 - Exhaust Balance Shaft Drive Sprocket
129 - Intake Balance Shaft Drive Sprocket
130 - Balance Shaft Drive Sprocket Bolts
223 - Upper Timing Chain Guide Bolt
224 - Upper Timing Chain Guide
225 - Exhaust Camshaft Position Actuator
226 - Intake Camshaft Position Actuator
227 - Camshaft Position Actuator Bolt
228 - Timing Chain Oil Nozzle
229 - Timing Chain Oil Nozzle Bolt
230 - Timing Chain Drive Sprocket
231 - Fixed Timing Chain Guide
232 - Fixed Timing Chain Guide Bolt
233 - Timing Chain
234 - Timing Chain Tensioner Washer
235 - Timing Chain Tensioner Body
236 - Timing Chain Tensioner O-ring Seal
237 - Timing Chain Tensioner Plunger
238 - Adjustable Timing Chain Guide
239 - Adjustable Timing Chain Guide Bolt
240 - Balance Shaft Drive Sprocket
241 - Balance Shaft Drive Chain Guide
242 - Balance Shaft Drive Chain Guide Bolt
243 - Balance Shaft Drive Chain Guide
244 - Balance Shaft Drive Chain Guide Bolt
245 - Balance Shaft Drive Chain
246 - Balance Shaft Drive Chain Tensioner Assembly
247 - Balance Shaft Drive Chain Tensioner Assembly Bolt
248 - Adjustable Balance Shaft Drive Chain Guide
249 - Adjustable Balance Shaft Drive Chain Guide Bolt
314 - Water Pump Drive Sprocket
315 - Water Pump Drive Sprocket Bolt
316 - Water Pump Bolt
317 - Engine Front Cover Access Plate Gasket
318 - Engine Front Cover Access Plate
319 - Engine Front Cover Access Plate Bolt
414 - Engine Front Cover Alignment Pins
415 - Engine Front Cover Gasket
416 - Oil Pump Cover Bolt
417 - Oil Pump Cover
418 - Oil Pump Outer Gerotor
419 - Oil Pump Inner Gerotor
420 - Engine Front Cover
421 - Engine Front Cover Bolt
422 - Oil Pressure Relief Valve Spring
423 - Oil Pressure Relief Valve Plunger
424 - Oil Pressure Relief Valve O-ring Seal
425 - Oil Pressure Relief Valve Plug
426 - Crankshaft Front Seal
427 - Crankshaft Damper
428 - Crankshaft Damper Bolt
429 - Friction Washer, some models
704 - Belt Tensioner
705 - Belt Tensioner Bolt