Curiosii for ever!: Car repair manuals for everyone.

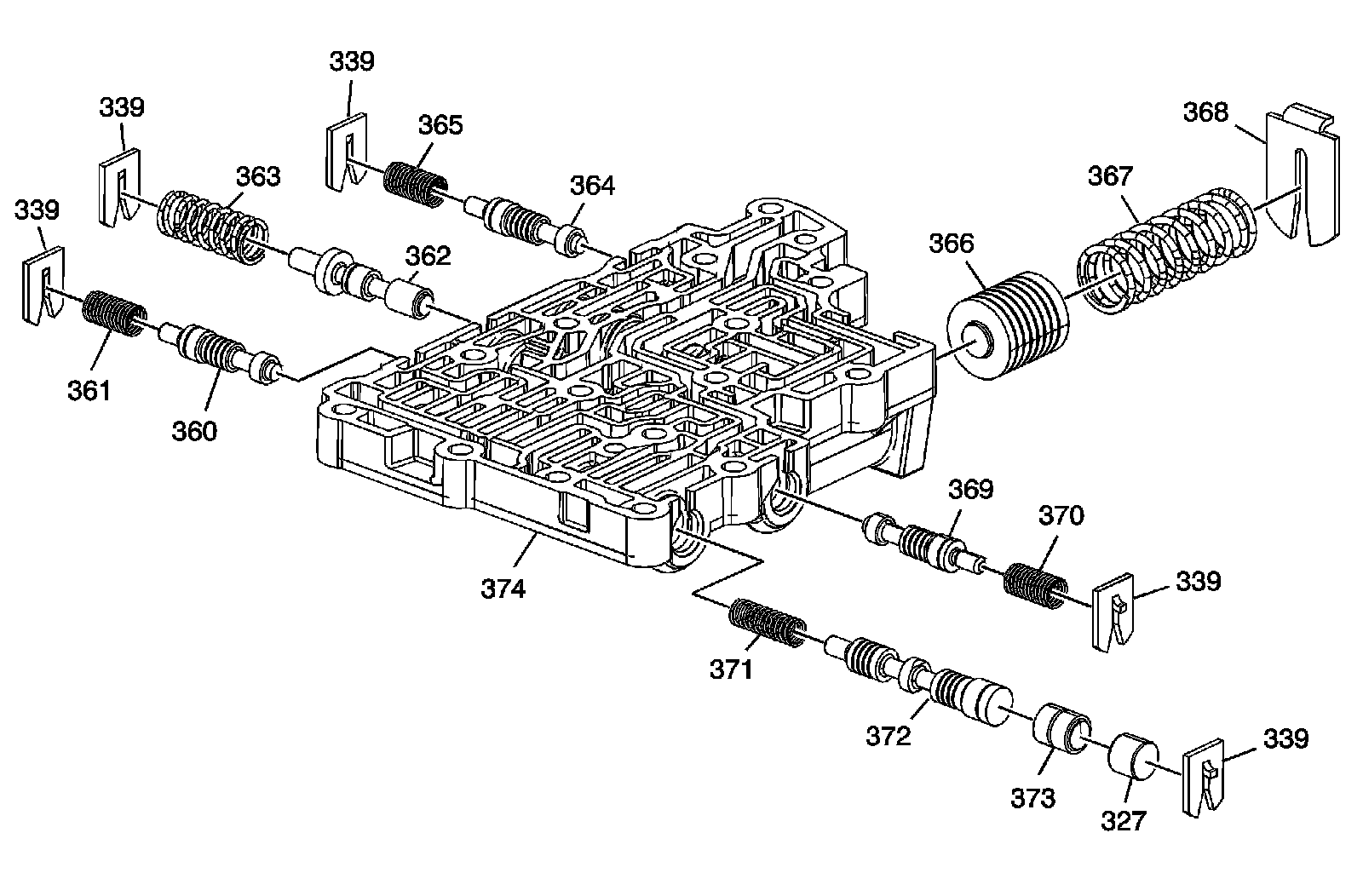
Lower Valve Body Assembly




Disassembled Views

Lower Valve Body Assembly




327 - 1-2-3-4 Clutch Regulator Valve Bore Plug
339 - Actuator Feed Limit Valve Spring Retainer
360 - 4-5-6 Clutch Boost Valve
361 - 4-5-6 Clutch Boost Valve Spring
362 - Actuator Feed Limit Valve
363 - Actuator Feed Limit Valve Spring
364 - 3-5-Reverse Clutch Boost Valve
365 - 3-5-Reverse Clutch Boost Valve Spring
366 - 4-5-6 Clutch Accumulator Piston
367 - 4-5-6 Clutch Accumulator Piston Spring
368 - 4-5-6 Clutch Accumulator Piston Retainer
369 - 1-2-3-4 Clutch Boost Valve
370 - 1-2-3-4 Clutch Boost Valve Spring
371 - 1-2-3-4 Clutch Regulator Valve Spring
372 - 1-2-3-4 Clutch Regulator Valve
373 - Default Override 1-2-3-4 Clutch Valve
374 - Control Valve Lower Body