Curiosii for ever!: Car repair manuals for everyone.

Control Valve Body Cover Replacement




Control Valve Body Cover Replacement

Removal Procedure




1. Remove the air cleaner housing assembly. Refer to Air Cleaner Assembly Replacement (Service and Repair).




2. Remove the underhood electrical center from the bracket.
3. Remove the underhood electrical center bracket.




4. Disconnect the shift cable from the PNP switch.
5. Remove the shift cable bracket.




6. Remove the PNP switch lever nut and lever.




7. Remove the PNP switch. Refer to Park/Neutral Position Switch Replacement (Service and Repair).
8. Remove the transmission upper side cover bolts.
9. Install the engine support fixture. Refer to Engine Support Fixture (Engine Support Fixture).
10. Raise the vehicle. Refer to Lifting and Jacking the Vehicle (Service and Repair).
11. Remove the left front tire and wheel. Refer to Tire and Wheel Removal and Installation (Service and Repair).
12. Remove the left inner fender liner. Refer to Front Fender Liner Replacement (Service and Repair).
13. Remove the wheel drive shaft from the transmission. Refer to Wheel Drive Shaft Replacement (Wheel Drive Shaft Replacement).
14. Remove the power steering gear mounting bolts. Refer to Steering Gear Replacement (Service and Repair).
15. Remove the frame. Refer to Frame Replacement ().
16. Remove the transmission mount. Refer to Transmission Front Mount Replacement (Transmission Front Mount Replacement) or Transmission Rear Mount Replacement (Transmission Rear Mount Replacement).
17. Lower the vehicle.
18. Lower the engine with the engine support fixture.
19. Raise the vehicle.




20. Remove the 11 transmission side cover bolts (3) or Studs (4) (model dependant).

Caution: Pry on the corner of the case side cover near the locating dowel pins (45), to prevent damage to the sealing surfaces.

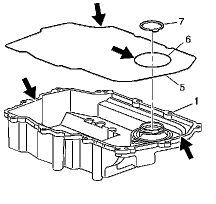
21. Remove the transmission side cover (1).
22. Remove the two side cover gaskets (5 and 6) and the side cover to driven support thrust washer (7). They may remain with the side cover. Only replace if necessary.

Installation Procedure




1. If the seals were removed, thoroughly clean and dry the side cover seal grooves and the side cover seals.
2. Install the side cover gaskets (5 and 6) into the grooves on the side cover (1).
3. Retain the seals with J 36850 or equivalent.
4. Install the side cover to drive sprocket thrust washer (7) onto the side cover.
5. Retain the thrust washer with J 36850 or equivalent.




6. Install the side cover assembly onto the transmission case.
7. Install the 11 side cover bolts (3) or studs (4) (model dependent).




8. Refer to the graphic in order to find the correct installation points of the bolts and the stud.





Caution: Refer to Fastener Caution (Fastener Caution).

9. Hand start the bolts and tighten the side cover bolts and stud to 28 Nm (22 lb ft).
10. Lower the vehicle.
11. Raise the engine with the engine support fixture.
12. Raise the vehicle.
13. Install the transmission mount. Refer to Transmission Front Mount Replacement (Transmission Front Mount Replacement) or Transmission Rear Mount Replacement (Transmission Rear Mount Replacement).
14. Install the frame. Refer to Frame Replacement ().
15. Install the power steering gear mounting bolts. Refer to Steering Gear Replacement (Service and Repair).
16. Install the wheel drive shaft to the transmission. Refer to Wheel Drive Shaft Replacement (Wheel Drive Shaft Replacement).
17. Connect the left ball joint to the steering knuckle. Refer to Lower Control Arm Ball Joint Replacement (with FE1 Only) (Service and Repair).
18. Install the left inner fender liner. Refer to Front Fender Liner Replacement (Service and Repair).
19. Install the left front tire and wheel. Refer to Tire and Wheel Removal and Installation (Service and Repair).
20. Lower the vehicle.
21. Remove the engine support fixture. Refer to Engine Support Fixture (Engine Support Fixture).




22. Install the PNP switch. Refer to Park/Neutral Position Switch Replacement (Service and Repair).




23. Install the PNP switch lever and nut and tighten to 35 Nm (26 lb ft).




24. Install the shift cable bracket.
25. Connect the shift cable from the PNP switch.




26. Install the underhood electrical center bracket.
27. Install the underhood electrical center to the bracket.




28. Install the air cleaner housing assembly. Refer to Air Cleaner Assembly Replacement (Service and Repair).
29. Fill the transmission. Refer to Transmission Fluid Check (Testing and Inspection) and Fluid Capacity Specifications (Capacity Specifications).