Curiosii for ever!: Car repair manuals for everyone.

Air Bag Systems: Locations




SIR Identification Views

The SIR Identification Views shown below illustrate the approximate location of all SIR components available for the vehicle. This will assist in determining the appropriate SIR Disabling and Enabling for a given service procedure, refer to SIR Disabling and Enabling (Service and Repair).

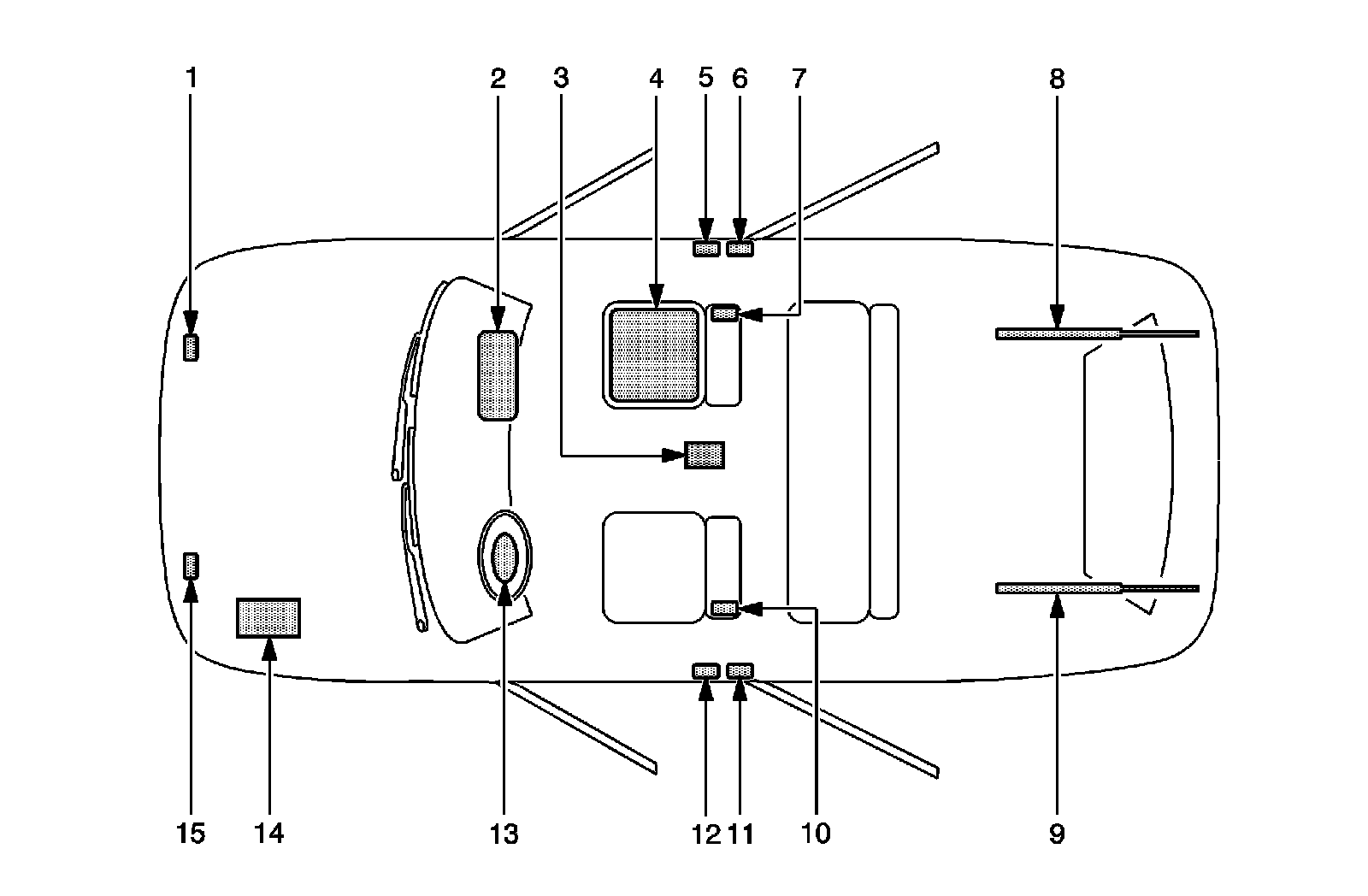
North American Models




1 - Right Front End Sensor-Located on the right front of the vehicle in the engine compartment
2 - I/P Air Bag-Located at the top right under the instrument panel
3 - Sensing and Diagnostic Module (SDM)-Located underneath the center console
4 - Passenger Presence System (PPS)-Located on the passenger front seat underneath the seat bottom trim
5 - Seat Belt Pretensioner-Located under the center pillar trim near the bottom
6 - RH Side Impact Sensor (SIS)-Located under the center pillar trim near the bottom
7 - RF Side Impact Air Bag-Located on the seat back of passenger seat
8 - Rear Compartment Lid Assist Rod-A gas shock is located under the rear trunk lid on the passenger side (Hatchback Models)
9 - Rear Compartment Lid Assist Rod-A gas shock is located under the rear trunk lid on the driver side (Hatchback Models)
10 - LF Side Impact Air Bag-Located on the seat back of driver seat
11 - LH Side Impact Sensor (SIS)-Located under the center pillar trim near the bottom
12 - Seat Belt Pretensioner-Located under the center pillar trim near the bottom
13 - Steering Wheel Air Bag-Located on the steering wheel
14 - Vehicle Battery-Located under the hood on the right side
15 - Left Front End Sensor-Located on the left front of the vehicle in the engine compartment

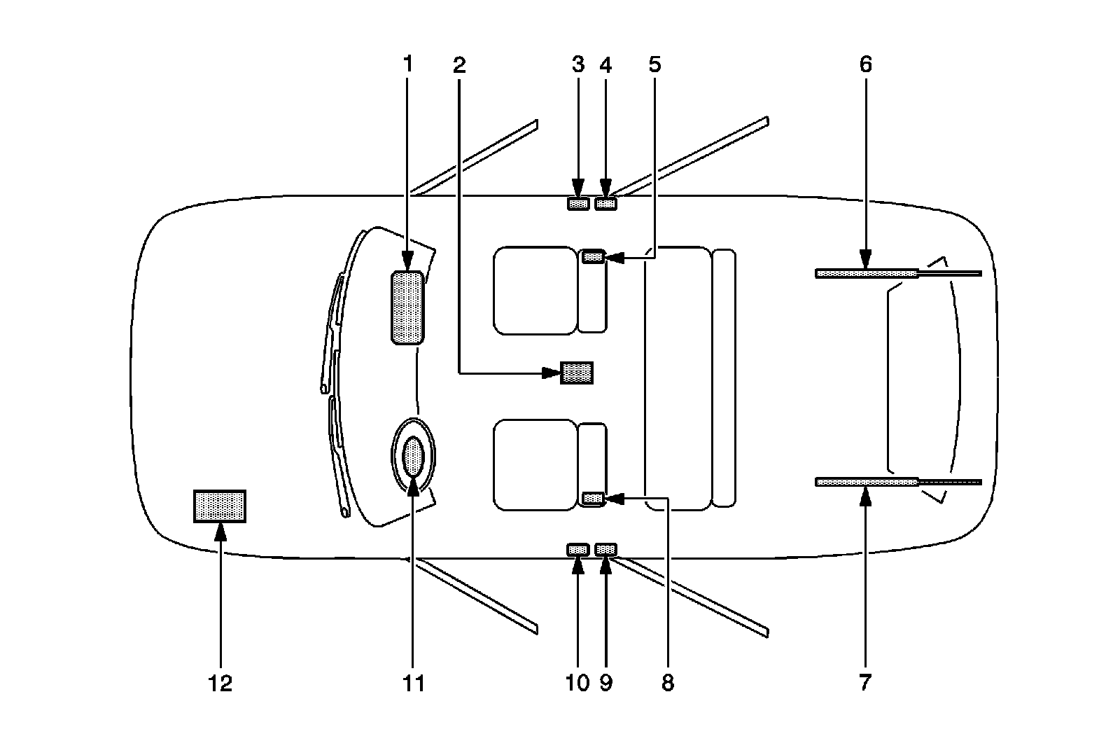
Except North American Models




1 - I/P Air Bag-Located at the top right under the instrument panel
2 - Sensing and Diagnostic Module (SDM)-Located underneath the center console
3 - Seat Belt Pretensioner-Located under the center pillar trim near the bottom
4 - RH Side Impact Sensor (SIS)-Located under the center pillar trim near the bottom
5 - RF Side Impact Air Bag-Located on the seat back of passenger seat
6 - Rear Compartment Lid Assist Rod-A gas shock is located under the rear trunk lid on the passenger side (Hatchback Models)
7 - Rear Compartment Lid Assist Rod-A gas shock is located under the rear trunk lid on the driver side (Hatchback Models)
8 - LF Side Impact Air Bag-Located on the seat back of driver seat
9 - LH Side Impact Sensor (SIS)-Located under the center pillar trim near the bottom
10 - Seat Belt Pretensioner-Located under the center pillar trim near the bottom
11 - Steering Wheel Air Bag-Located on the steering wheel
12 - Vehicle Battery-Located under the hood on the right side