Curiosii for ever!
: Car repair manuals for everyone.
Home
>>
Pontiac
>>
2008
>>
G8 V6-3.6L
>>
Repair and Diagnosis
>>
Diagrams
>>
Connector Views
>>
Fuse Block
>>
Fuse Block - Underhood
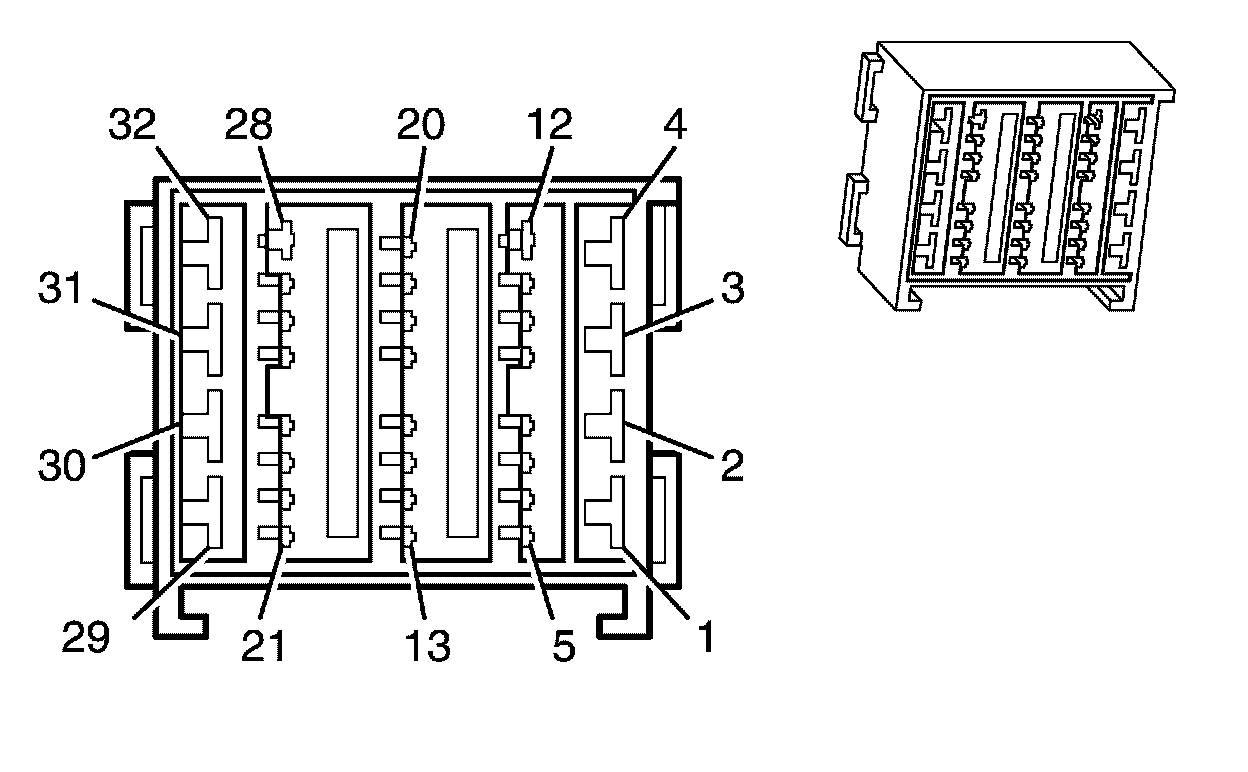
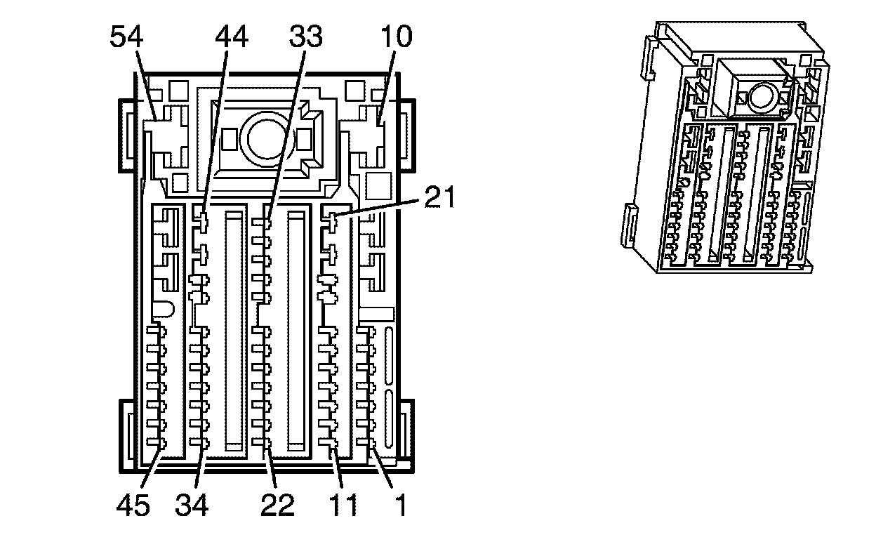
Fuse Block - Underhood
Electrical Center Identification Views
Fuse Block
- Underhood
Fuse Block
- Underhood X1
Fuse Block
- Underhood X2
Fuse Block
- Underhood X3